HOME-Au
HOME-Au
24h
24h
USA
USA
GOP
GOP
Phim Bộ
Phim Bộ
Videoauto
VIDEO-Au
Home Classic
Home Classic
Donation
Donation
News Book
News Book
News 50
News 50
worldautoscroll
WORLD-Au
Breaking
Breaking
 

Go Back   VietBF > Others (Closed Forums) > Archive - Old News 2013 (closed)

 
 
Thread Tools
Default iPhone tương lai có màn hình siêu ấn tượng
Old 03-29-2013   #1
tonny_thuong
R10 Vô Địch Thiên Hạ
 
tonny_thuong's Avatar
 
Join Date: Feb 2008
Posts: 61,375
Thanks: 0
Thanked 0 Times in 0 Posts
Mentioned: 0 Post(s)
Tagged: 0 Thread(s)
Quoted: 0 Post(s)
Rep Power: 79
tonny_thuong Reputation Uy Tín Level 1tonny_thuong Reputation Uy Tín Level 1tonny_thuong Reputation Uy Tín Level 1
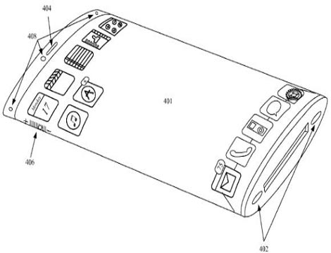
- Trong khi chúng ta đang chờ đợi thế hệ điện thoại với màn hình dẻocủa Samsung ra mắt thì Apple có lẽ cũng kịp tung ra điện thoại màn hìnhdẻo bọc quanh.

Trang mạng Apple Insider mới đưa tin về kế hoạch ra mắt màn hình dẻo cùng thiết bị trong suốt của Apple, và đây có thể là thiết kế mới cho thế hệ tiếp sau của iPhone.

Thực tế, nó miêu tả một chiếc điện thoại với 2 màn hình dẻo cùng làm việc. Thân máy làm bằng kính, có thể sử dụng màn hình AMOLED, bao quanh thiết bị.




Thiết kế tương lai của điện thoại iPhone?

Bằng sáng chế cho ý tưởng này được công nhận năm 2011 và đây không phải lần đầu tiên Apple thể hiện sự quan tâm của mình với công nghệ màn hình dẻo.

Đây cũng là công nghệ mà mọi người hi vọng có thể sẽ thấy trên Apple iWatch. Tuy nhiên, bằng sáng chế là một chuyện, còn thực tế trên sản phẩm lại là một vấn đề khác. Không ai có thể đảm bảo Apple sẽ cho ra mắt chiếc điện thoại với màn hình tròn, bao bọc quanh máy.

theo kienthuc
tonny_thuong_is_offline  
Attached Thumbnails
Click image for larger version

Name:	1.jpg
Views:	17
Size:	21.1 KB
ID:	455016  
Old 03-30-2013   #2
jojolotus
R9 Tuyệt Đỉnh Tôn Sư
 
jojolotus's Avatar
 
Join Date: Dec 2008
Posts: 41,760
Thanks: 0
Thanked 0 Times in 0 Posts
Mentioned: 0 Post(s)
Tagged: 0 Thread(s)
Quoted: 0 Post(s)
Rep Power: 59
jojolotus Reputation Uy Tín Level 1jojolotus Reputation Uy Tín Level 1
Default Lộ 'tin mật' màn hình iPhone tương lai

Trong khi chúng ta đang chờ đợi thế hệ điện thoại với màn hình dẻo của Samsung ra mắt, thì Apple có lẽ cũng kịp tung ra điện thoại màn hình dẻo bọc quanh.

Trang mạng Apple Insider mới đưa tin về kế hoạch ra mắt màn hình dẻo cùng thiết bị trong suốt của Apple, và đây có thể là thiết kế mới cho thế hệ tiếp sau của iPhone.



Thiết kế tương lai của điện thoại iPhone?

Thực tế, nó miêu tả một chiếc điện thoại với 2 màn hình dẻo cùng làm việc. Thân máy làm bằng kính, có thể sử dụng màn hình AMOLED, bao quanh thiết bị.

Bằng sáng chế cho ý tưởng này được công nhận năm 2011, và đây không phải lần đầu tiên Apple thể hiện sự quan tâm của mình với công nghệ màn hình dẻo.

Đây cũng là công nghệ mà mọi người hy vọng có thể sẽ thấy trên Apple iWatch. Tuy nhiên, bằng sáng chế là một chuyện, còn thực tế trên sản phẩm lại là một vấn đề khác. Không ai có thể đảm bảo Apple sẽ cho ra mắt chiếc điện thoại với màn hình tròn, bao bọc quanh máy.

Theo Kiến thức
jojolotus_is_offline  
Attached Thumbnails
Click image for larger version

Name:	avatar.jpg
Views:	9
Size:	4.1 KB
ID:	455324  
 

Tags
ấn tượng, apple, iphone, màn hình, màn hình dẻo
User Tag List


Việt kiều về nước mua vé business, không ngờ bị Việt Cộng đẩy xuống ngồi hạng bét, nguyên nhân thật hãi hùng Đàn ông Việt ở Mỹ vs đàn ông ở Việt Nam: rửa chén hay rửa… cái tôi? Bách chiến kiêu hùng, ông gốc Việt đi chiến xa giữa lòng nước Mỹ
Ra phi trường rồi mới biết không xuất cảnh được, lý do thật bất ngờ ở 'thiên đường' Việt Cộng “Tôi sẽ tiếp tục vận động đòi tự do”: Derek Trần gửi thông điệp Giáng sinh cho TNLT Việt Nam Little Saigon dậy sóng
Những nguyên nhân khiến Chiến dịch của quân đội thất bại lật đổ Thế Lực Hưng Yên Châu Âu tỉnh giấc muộn: “Nếu chiến tranh tới trong 3–5 năm, ta đã sẵn sàng chưa?” Từ sân khấu thành chiến tuyến, một cái tên, một cơn sóng: “Trump Kennedy Center” và buổi diễn Giáng Sinh bị hủy phút chót
Trump kiện BBC đòi 10 tỷ đô: đòn dằn mặt báo chí hay cuộc chiến danh dự thật sự? Ba người hùng đã mãi mãi ngã xuống khi ra tay ngăn chặn 2 tên khủng bố ở bải biển Bondi, Úc Mỹ tràn ngập người thất nghiệp, năm tệ nhất từ sau đại dịch
Tiền ảo nhà Trump mất sạch giá trị, Melania coin mất 99%, bong bóng cổ phiếu sụp đổ và bài toán “nước Mỹ giàu lắm” Ford thắng lớn với xe xăng, “để đó” xe điện – và vì sao giấc mơ xe tí hon giá rẻ vẫn xa tầm tay người Mỹ Little Saigon Landmark Seattle: “Ngôi nhà neo đậu” mới cho cộng đồng người Việt
Boba & Beans – Quán ăn Việt thắp hương quê giữa trung tâm Meriden Bellaire Market District 100 triệu USD: ‘Chợ 3 Miền’ đưa Little Saigon Houston bước sang trang mới Hà Nội xếp hàng thẳng tắp: khi camera AI dạy lại văn hoá đèn đỏ
Tổng thống ‘Hòa Bình’ và những biên giới đỏ lửa: Thái–Miên, Pakistan–Afghanistan và vở kịch giải thưởng cho Trump Chernobyl lại báo động đỏ: Lá chắn thép 2,1 tỷ euro bị drone đánh thủng, IAEA cảnh báo mất chức năng an toàn Paris lại đăng quang, Bangkok đông nghẹt, Viêng Chăn vẫn lặng lẽ: Bản đồ du lịch 2025 giữa kỷ lục mới và những góc bình yên
Trump Thắng Lớn Trong Cuộc Chiến ‘Bãi Nhiệm Không Cần Lý Do Vì Sao Tôi Chống Trump: Từ Nước Mắt Trong ICU Đến Chiếc Ô Đỏ MAGA Và Trò Hề ‘Giải Hòa Bình’ Từ Okinawa đến màn hình điện thoại: Trung Quốc leo thang quân sự, siết kiểm soát số và cuộc chiến bóng ma quanh Đài Loan
Cú quay đầu của lá phiếu Latino: từ ‘kỳ tích’ Trump 2024 đến khối cử tri dao động nhất nước Mỹ Cộng đồng Somali ở Minnesota đứng dậy giữa bão trục xuất Trung Quốc ăn cắp máy quang khắc bất thành – vì sao ‘đốt cháy giai đoạn’ trong ngành chip là chuyện bất khả?
Cú “cắn ghế” thần tốc ở Hà Nội: Mailisa, Doctor Magic và ván cờ phe phái Ngân sách tăng thuế của Labour và nước Anh nơi 1/3 trẻ em sống trong nghèo đói Đĩa mì Ý ở Mỹ trước bão thuế 107%: từ “xa xỉ phẩm 4 đô” đến nỗi lo mất luôn món ăn bình dân
Mùa mua sắm Mỹ thời bão giá: Macy’s, Old Navy, Walmart xoay xở, Sears hấp hối – trong khi Đài Loan bứt tốc nhờ cơn sốt AI Tịch thu 100 sổ đỏ, 300 cây vàng SJC, 400k USD, 3 tỷ đồng của Mailisa và còn nhiều nữa, siêu xe hàng tá, tiền hàng ...tấn Giáo hoàng Leo XIV kêu gọi chấm dứt lợi dụng tôn giáo cho chiến tranh trong chuyến công du Thổ Nhĩ Kỳ – Li Băng
Louvre tăng giá vé 45% với khách ngoài châu Âu: bức tranh đắt đỏ mới của “ngôi đền nghệ thuật” Paris Bão Mặt Trời đe dọa buồng lái: hơn 6.000 máy bay Airbus A320 phải sửa gấp vì nguy cơ mất kiểm soát 10 ngày ở ghế Chủ tịch Hà Nội: Nguyễn Đức Trung và bài toán nhân sự trước Đại hội 14
Nếu VinFast thua sạch ở Mỹ: Hoá đơn có thể lên tới 1,5 tỷ USD Từ Việt Minh đến Chuyên Chính Đỏ: Chiến lược che giấu và thanh trừng có chủ đích Từ Nội Chiến Mỹ đến Việt Nam: Hai cách đối xử với người lính bại trận
“Hãy công bố kết quả MRI đi!” – Tim Walz dội gáo nước lạnh vào cơn thịnh nộ Lễ Tạ Ơn của Donald Trump Từ Vệ Binh Quốc Gia đến Quân Lực Việt Nam Cộng Hòa – hành trình một đạo quân quốc gia “Người Cày Có Ruộng” – ngày vui nhất đời Tổng thống Thiệu và ký ức tem thư của một thằng bé Sài Gòn
Tiền tuyến rực lửa, bàn đàm phán nóng lên: Ukraine vạch lằn ranh đỏ trước kế hoạch hòa bình của Trump Starbucks – Target và ly socola bạc hà cứu vãn mùa Giáng sinh ảm đạm Phố thời trang tắt đèn trước Tết: Tiểu thương Hà Nội kẹt giữa gánh thuê nhà và thuế khóa
Tướng Nga thiệt mạng vì bom gài dưới gầm xe ở Moscow Tự tử vì bị Trump trục xuất Mỹ bán gói vũ khí 11,1 tỷ USD cho Đài Loan: HIMARS, drone cảm tử và lời cảnh cáo từ Bắc Kinh
Hàn Quốc xin “vé” vào CLB tàu ngầm hạt nhân: Trump gật đầu, nhưng cái giá là gì? Số người gốc Việt sống chui ở nước ngoài tăng lên mức kỷ lục 517.000 người Vì sao “vượt biển” của họ Hồ là cứu nước, còn vượt biển của dân Việt sau 1975 là “Cali, đu càng”?
Con trai người lính VNCH hôm nay là Captain Hải quân Mỹ và Giáo sư tại Walter Reed Chính quyền Trump muốn trục xuất khoảng 100.000 người gốc Việt khỏi Mỹ Dân Việt Nam làm mờ biển số xe khiến AI của Công An không biết đường nào mà phạt
Công dân Mỹ cũng có thể bị ICE bắt nhầm: ‘Xứ tự do’ và nỗi sợ gõ cửa lúc nửa đêm Khi CIA mù tịt, còn một tướng VNCH đã nhìn ra trước Kinh tế Trung Quốc kẹt giữa lạm phát và giảm phát
Hàng Tàu phá vây thuế quan, Trump khoe kinh tế A+++ và chiếc ví rỗng của người Mỹ Nguyễn Cao Kỳ, cái chết bất ngờ và bài học đắt giá về ‘hòa hợp hòa giải’ Trung Quốc siết cổ doanh nghiệp Việt: Cuộc xâm lược thương mại ngay trên sân nhà
Mỹ đuổi thẳng tay nếu chửi Mỹ trên Facebook Hòa bình mong manh cho Ukraine: Kế hoạch 20 điểm, sức ép từ Trump và bài toán bầu cử giữa làn đạn Fed cắt lãi suất lần thứ ba liên tiếp: Powell “phanh gấp”, túi tiền người Mỹ thay đổi ra sao?
IKEA khai trương cửa hàng đầu tiên ở New Zealand: Người Kiwi xếp hàng từ tờ mờ sáng Nước Mỹ không dung dưỡng kẻ vô ơn: Tị nạn, di dân và cơn giận của Donald Trump Dư âm Giáng Sinh Sài Gòn xưa: Từ mùa sao sáng đến thánh ca buồn
Lê Duẩn – Mao Trạch Đông và cái giá “lá chắn phương Nam” của Việt Nam Trung Quốc hủy 540.000 vé sang Nhật: Đòn răn đe hay cú “tự bắn vào chân”? Trump xóa bỏ tiêu chuẩn nhiên liệu thời Biden
Mỹ đã hiểu sai tham vọng của Đảng Cộng sản Trung Quốc và đánh giá thấp sự quyết liệt tàn nhẫn của họ Tị nạn, thẻ xanh, visa du học cùng bị “khóa cửa” Khi bia Mexico gặp búa trừng phạt di trú của Trump: Cú ngã đau của đế chế Modelo – Corona
Biển số 37.77: Thông điệp ngầm của Thủ tướng Nhật Takaichi Sanae gửi Bắc Kinh Quốc tịch Mỹ: Tường thành gần như tuyệt đối cho người nhập tịch Con gái Hà Nội, giọt nước dưới mặt lá
Những tay giang hồ miền Nam: huyền thoại, bóng tối và cái giá phải trả Huỳnh Điều – “anh lớp Ba” mà Cộng sản sợ cái miệng hơn sợ khẩu M.79 Tiếng súng 9 giờ sáng ở Florida và hành trình cuối của nữ deputy Terri Sweeting-Mashkow
“Giang sơn” nào được sắp xếp, và sắp xếp cho ai? Sau 40 tuổi, khuôn mặt là “bản lý lịch” của tâm hồn Siêu biệt phủ trăm tỷ của Chủ tịch phường Hải Phòng: “Đại Lộc Thiên tử” giữa làng nghèo
Từ vụ sạc 24 giờ ở Mỹ đến chết yểu ở Ấn Độ: VinFast và câu hỏi dành cho người Việt Khi chú Hòa xây nhà bình dân: những kiệt tác âm thầm giữa lòng Sài Gòn Việt Nam – Xứ sở của những người bị bắt phải học nghề đói
Mailisa bị bắt và ký ức đôi vợ chồng ăn chay đi chùa Đi Hàn, đi Nhật rồi nhìn lại Việt Nam: yêu nước đâu chỉ nói trên môi Nepal – Đất nước sống ở năm 2082 giữa trái tim Himalaya
Nicholas Winton – Người hùng thầm lặng cứu 669 đứa trẻ khỏi bóng đen Đức Quốc Xã Bi kịch giáo sư Yoshihiro Sato: khi dữ liệu đẹp đổi lấy danh dự và cái chết Sự ngu dốt của bọn có học – từ Nguyễn Huy Thiệp đến thời những lời nói lật ngược sự thật

 
Lên đầu Xuống dưới Lên 3000px Xuống 3000px

iPad Videos Portal Autoscroll

VietBF Music Portal Autoscroll

iPad News Portal Autoscroll

VietBF Homepage Autoscroll

VietBF Video Autoscroll Portal

USA News Autoscroll Portall

VietBF WORLD Autoscroll Portal

Home Classic

Super Widescreen

iPad World Portal Autoscroll

iPad USA Portal Autoscroll

Phim Bộ Online

Tin nóng nhất 24h qua

Tin nóng nhất 3 ngày qua

Tin nóng nhất 7 ngày qua

Tin nóng nhất 30 ngày qua

Albums

Total Videos Online
Lên đầu Xuống dưới Lên 3000px Xuống 3000px

Tranh luận sôi nổi nhất 7 ngày qua

Tranh luận sôi nổi nhất 14 ngày qua

Tranh luận sôi nổi nhất 30 ngày qua

10.000 Tin mới nhất

Tin tức Hoa Kỳ

Tin tức Công nghệ
Lên đầu Xuống dưới Lên 3000px Xuống 3000px

Super News

School Cooking Traveling Portal

Enter Portal

Series Shows and Movies Online

Home Classic Master Page

Donation Ủng hộ $3 cho VietBF
Lên đầu Xuống dưới Lên 3000px Xuống 3000px
Diễn Đàn Người Việt Hải Ngoại. Tự do ngôn luận, an toàn và uy tín. Vì một tương lai tươi đẹp cho các thế hệ Việt Nam hãy ghé thăm chúng tôi, hãy tâm sự với chúng tôi mỗi ngày, mỗi giờ và mỗi giây phút có thể. VietBF.Com Xin cám ơn các bạn, chúc tất cả các bạn vui vẻ và gặp nhiều may mắn.
Welcome to Vietnamese American Community, Vietnamese European, Canadian, Australian Forum, Vietnamese Overseas Forum. Freedom of speech, safety and prestige. For a beautiful future for Vietnamese generations, please visit us, talk to us every day, every hour and every moment possible. VietBF.Com Thank you all and good luck.

Lên đầu Xuống dưới Lên 3000px Xuống 3000px

All times are GMT. The time now is 19:58.
VietBF - Vietnamese Best Forum Copyright ©2005 - 2025
User Alert System provided by Advanced User Tagging (Pro) - vBulletin Mods & Addons Copyright © 2025 DragonByte Technologies Ltd.
Log Out Unregistered

Page generated in 0.11397 seconds with 13 queries