HOME-Au
HOME-Au
24h
24h
USA
USA
GOP
GOP
Phim Bộ
Phim Bộ
Videoauto
VIDEO-Au
Donation
Donation
News Book
News Book
News 50
News 50
worldautoscroll
WORLD-Au
Breaking
Breaking
 

Go Back   VietBF > Other > Mobile News|Tin Di Động


Reply
Thread Tools
 
 
  #1  
Old  Default iPhone 7 sẽ thay đổi hoàn toàn màn hình hiển thị?
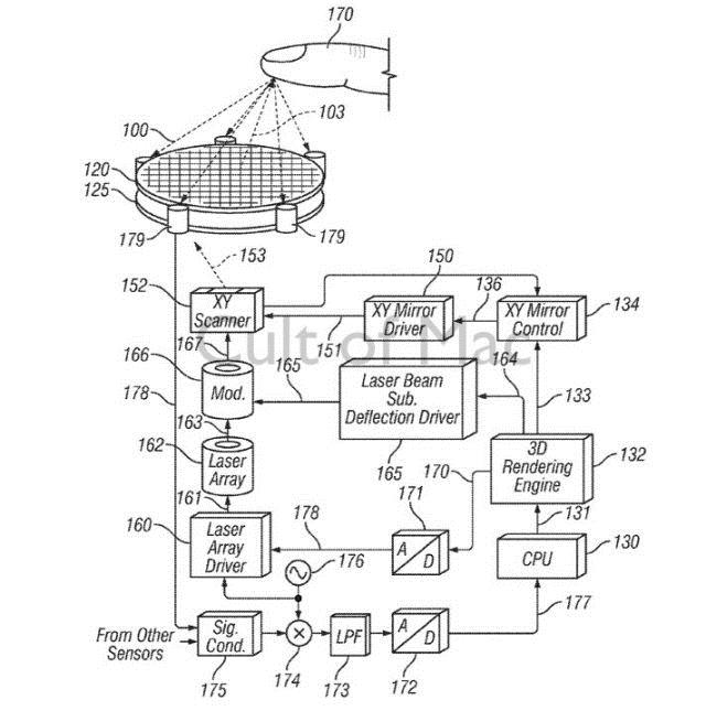
Các thế hệ sản phẩm iPhone, iPad tiếp theo của Apple rất có thể sẽ có màn hình hiển thị ba chiều cảm ứng theo một bằng sáng chế mới vừa được công bố của hãng.


Công nghệ màn hình mới của Apple sẽ cho người dùng trải nghiệm hình ảnh 3D như trong phim Star Wars.

Bằng sáng chế này sẽ thay đổi giao diện cảm ứng dựa trên vật lý đang được áp dụng hiện nay cho iPhone và máy tính bảng. Những hình ảnh nổi ba chiều 3-D sẽ được tạo ra bằng cách sử dụng chùm ánh sáng. Apple sẽ sử dụng một ống kính tạo thành từ nhiều ống kính micro để làm chệch hướng ánh sáng laser ở các góc độ khác nhau nhằm tạo ra một ảo ảnh quang học ba chiều.



Photo: Apple/USPTO

Chế độ cảm ứng sẽ được kích hoạt khi một chùm tia bị gián đoạn bởi một ngón tay hoặc bút stylus, và thông tin của các chuyển động này sẽ biến thành dữ liệu để điều khiển hoạt động của máy. Bằng sáng chế thiết bị hiển thị ba chiều tương tác này của Apple được nộp lần đầu tiên vào đầu năm 2011 do đó khả năng thiết bị này đang trong giai đoạn nghiên cứu là rất cao.

Tuy nhiên vẫn có nguy cơ bằng sáng chế này sẽ không bao giờ xuất hiện trên một thiết bị hoàn chỉnh trong tương lai gần vì công nghệ hiện nay vẫn chưa đáp ứng tốt các yêu cầu đề ra trong bằng sáng chế.

Theo TGDĐ/Cultofmac
Dịch trang: EnglishEnglish DeutschDeutsch FrançaisFrançais EspañolEspañol ItalianoItaliano PortuguêsPortuguês
NorskNorsk NederlandsNederlands DanskDansk SuomiSuomi PolskiPolski ČeštinaČeština РусскийРусский
日本語日本語 한국어한국어 中文(简体)中文(简体) 中文(繁體)中文(繁體) MagyarMagyar TürkçeTürkçe
العربيةالعربية ไทยไทย LatinaLatina हिन्दीहिन्दी Bahasa IndonesiaBahasa Indonesia Bahasa MelayuBahasa Melayu
VIETBF Hybrid Community Content Hub

HOT NEWS 24h

HOT 3 Days

NEWS 3 Days

HOT 7 Days

NEWS 7 Days

HOME

Breaking News

VietOversea

World News

Business News

Car News

Computer News

Game News

USA News

Mobile News

Music News

Movies News

History

Thơ Ca

Sport News

Stranger Stories

Comedy Stories

Cooking Chat

Nice Pictures

Fashion

School

Travelling

Funny Videos

Canada Tin Hay

USA Tin Hay

VietBF Homepage Autoscroll

VietBF Video Autoscroll Portal

Video Classic Master

iPad News Portal

VietBF iPad Music Portal

Tin nóng nhất 50h qua

Phim Bộ Online

iMusic Pro Max



vuitoichat
R11 Tuyệt Thế Thiên Hạ
Release: 10-01-2014
Reputation: 370714


Profile:
Join Date: Jan 2008
Posts: 150,979
Last Update: None Rating: None
Attached Thumbnails
Click image for larger version

Name:	20141001144427-3d.jpg
Views:	0
Size:	34.3 KB
ID:	666721   Click image for larger version

Name:	20141001144346-man-hinh-1.jpg
Views:	0
Size:	38.9 KB
ID:	666722   Click image for larger version

Name:	20141001144346-man-hinh-2.jpg
Views:	0
Size:	52.3 KB
ID:	666723  

vuitoichat_is_offline
Thanks: 11
Thanked 14,271 Times in 11,413 Posts
Mentioned: 3 Post(s)
Tagged: 1 Thread(s)
Quoted: 44 Post(s)
Rep Power: 187
vuitoichat Reputation Uy Tín Level 10vuitoichat Reputation Uy Tín Level 10vuitoichat Reputation Uy Tín Level 10vuitoichat Reputation Uy Tín Level 10vuitoichat Reputation Uy Tín Level 10
vuitoichat Reputation Uy Tín Level 10vuitoichat Reputation Uy Tín Level 10vuitoichat Reputation Uy Tín Level 10vuitoichat Reputation Uy Tín Level 10vuitoichat Reputation Uy Tín Level 10vuitoichat Reputation Uy Tín Level 10vuitoichat Reputation Uy Tín Level 10vuitoichat Reputation Uy Tín Level 10
Dịch trang: EnglishEnglish DeutschDeutsch FrançaisFrançais EspañolEspañol ItalianoItaliano PortuguêsPortuguês
NorskNorsk NederlandsNederlands DanskDansk SuomiSuomi PolskiPolski ČeštinaČeština РусскийРусский
日本語日本語 한국어한국어 中文(简体)中文(简体) 中文(繁體)中文(繁體) MagyarMagyar TürkçeTürkçe
العربيةالعربية ไทยไทย LatinaLatina हिन्दीहिन्दी Bahasa IndonesiaBahasa Indonesia Bahasa MelayuBahasa Melayu
Reply

User Tag List


Scandal tình dục làm rung chuyển cuộc đua thống đốc California: Eric Swalwell “tự bắn vào chân”, cục diện đảo chiều phút chót Cuba giữa vòng vây cấm vận: Bản lĩnh của "Hòn đảo tự do" hay bước đường cùng trước tối hậu thư từ Washington? Eo biển Hormuz bên bờ phong tỏa: Đàm phán Mỹ-Iran sụp đổ, chiến tranh ngôn từ hóa thành đòn siết thương mại toàn cầu
Giấc mơ xe hơi Mỹ dần xa tầm tay: Khi giá xe leo thang, người trẻ chật vật xoay xở Sự thật về vụ nổ súng kinh hoàng của đặc vụ ICE tại California Đàm phán Mỹ–Iran xuyên đêm thất bại: Hừng đông vỡ mộng tại Islamabad
Những chuyện hài hước nhất hôm nay Hội nghị Islamabad: Đêm trắng nghẹt thở bên bờ vực chiến tranh và những "toan tính" trên bàn cờ Mỹ - Iran Sự Thật Bị Che Khuất: Cuộc Chiến Biên Giới 1979 Và Nỗi Đau Lịch Sử Chưa Được Gọi Tên
Mỹ chưa sẵn sàng hộ tống tàu qua Hormuz, Nga bị tố giúp Iran, “Ayatollah” là gì, Mỹ tiết lộ số dầu trung bình-thấp còn trong kho Thông điệp đầu tiên của Tân Giáo Chủ Ba Tư: đóng Hormuz, dọa đánh căn cứ Mỹ và lời trấn an nửa vời với láng giềng Putin trúng số giữa cơn bão Trung Đông: khi dầu mỏ, chiến tranh và ảo tưởng của Trump cùng đẩy Nga hưởng lợi
Iran đưa ra ba điều kiện để chấm dứt chiến tranh, Giá nhiên liệu máy bay tăng mạnh, du lịch Trung Đông thiệt hại 600 triệu USD mỗi ngày California thấp thỏm, Iran mở rộng đòn đánh, hai tàu chở dầu bốc cháy, Mỹ tung 172 triệu thùng, Trump tuyên bố “đã thắng” Mỹ đánh Iran, châu Âu đứng nửa gần nửa xa: Donald Trump bỗng thấy cô đơn giữa vòng đồng minh
“G2” hay giấc mộng lưỡng cực: Trump muốn Mỹ - Trung cùng chia thiên hạ, Bắc Kinh lại không muốn mang tiếng bá quyền Nga ngồi không cũng hưởng lợi: chiến tranh Iran có thể thành “mỏ vàng” mới cho Điện Kremlin Eo biển Hormuz bốc lửa, chiến tranh lan rộng: Tàu hàng Thái Lan nổ tung, Iran có kho thuỷ lôi đáng sợ
DHS “quay xe” vụ dừng PreCheck: Hành khách thở phào, Global Entry vẫn bấp bênh Newsom “lên đường” bằng tour sách: Nếu đối đầu Kamala Harris, đó là… số phận Đêm Mar-a-Lago: Kẻ mang súng và can xăng bị bắn hạ ngay cổng Bắc
Tô Lâm bắt đầu chiến dịch thanh trừng các đàn em của Nguyễn Phú Trọng còn sót lại TRUMP MANG LẠI THÙ GHÉT CHƯA TỪNG THẤY Tràn ngập ảnh Đinh La Thăng ăn tết ở nhà, báo chí trong nước bịt kín thông tin
Trump nâng thuế quan toàn cầu lên 15% sau phán quyết Tối Cao Pháp Viện: “Đòn bẩy” mới, sóng gió mới Bốn năm chiến sự Ukraine: Nga trả giá bằng máu, bằng tiền – và bằng vị thế quốc tế Sydney rộn ràng Hội Chợ Tết Bính Ngọ 2026: Khai mạc tưng bừng – Hôm nay (CN 22/2) tiếp tục 10AM–10PM, pháo bông 9PM

 

iPad Videos Portal Autoscroll

VietBF Music Portal Autoscroll

iPad News Portal Autoscroll

VietBF Homepage Autoscroll

VietBF Video Autoscroll Portal

USA News Autoscroll Portall

VietBF WORLD Autoscroll Portal

Video Classic Master Page

Super Widescreen

iPad World Portal Autoscroll

iPad USA Portal Autoscroll

Phim Bộ Online
Lên đầu Xuống dưới Lên 3000px Xuống 3000px

Tin nóng nhất 24h qua

Tin nóng nhất 3 ngày qua

Tin nóng nhất 7 ngày qua

Tin nóng nhất 30 ngày qua

Albums

Total Videos Online

Tranh luận sôi nổi nhất 7 ngày qua

Tranh luận sôi nổi nhất 14 ngày qua

Tranh luận sôi nổi nhất 30 ngày qua

10.000 Tin mới nhất

Tin tức Hoa Kỳ

Tin tức Công nghệ
Lên đầu Xuống dưới Lên 3000px Xuống 3000px

Duo Series Movies Portal

Duo Music Portal

Phim Bộ

Tỷ Giá

Thời Tiết

Tin Nóng Nhất 50h

Super News

School Cooking Traveling Portal

Enter Portal

Series Shows and Movies Online

Home Classic Master Page

Donation Ủng hộ $3 cho VietBF
Lên đầu Xuống dưới Lên 3000px Xuống 3000px
Diễn Đàn Người Việt Hải Ngoại. Tự do ngôn luận, an toàn và uy tín. Vì một tương lai tươi đẹp cho các thế hệ Việt Nam hãy ghé thăm chúng tôi, hãy tâm sự với chúng tôi mỗi ngày, mỗi giờ và mỗi giây phút có thể. VietBF.Com Xin cám ơn các bạn, chúc tất cả các bạn vui vẻ và gặp nhiều may mắn.
Welcome to Vietnamese American Community, Vietnamese European, Canadian, Australian Forum, Vietnamese Overseas Forum. Freedom of speech, safety and prestige. For a beautiful future for Vietnamese generations, please visit us, talk to us every day, every hour and every moment possible. VietBF.Com Thank you all and good luck.

Lên đầu Xuống dưới Lên 3000px Xuống 3000px

All times are GMT. The time now is 18:12.
VietBF - Vietnamese Best Forum Copyright ©2005 - 2026
User Alert System provided by Advanced User Tagging (Pro) - vBulletin Mods & Addons Copyright © 2026 DragonByte Technologies Ltd.
Log Out Unregistered

Page generated in 0.11254 seconds with 15 queries