HOME-Au
HOME-Au
24h
24h
USA
USA
GOP
GOP
Phim Bộ
Phim Bộ
Videoauto
VIDEO-Au
Home Classic
Home Classic
Donation
Donation
News Book
News Book
News 50
News 50
worldautoscroll
WORLD-Au
Breaking
Breaking
 

Go Back   VietBF > Other News|Tin Khác > Mobile News|Tin Di Động


Reply
 
Thread Tools
  #1  
Old  Default Apple phát triển chức năng khóa màn hình theo Android
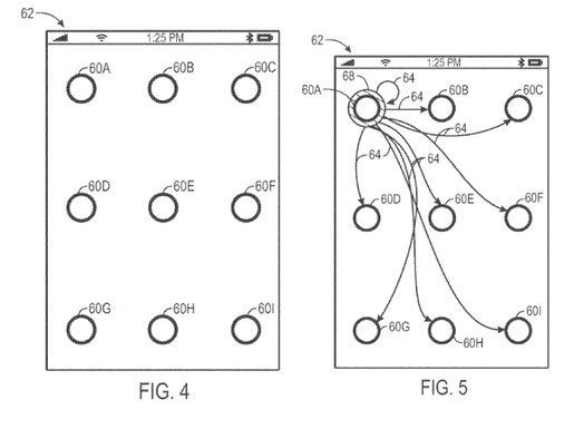
Hôm 17/4 vừa qua, Apple đã đăng kí bản quyền hai ứng dụng mới tại Phòng bản quyền và thương hiệu Hoa Kì (USPTO) dành cho hệ thống mở khóa bằng thao tác ngón tay đối với thiết bị iPhone và iPad.
Hệ thống trên được dự đoán sẽ phức tạp hơn hệ thống mở khóa đang được sử dụng hiện nay với những lựa chọn về các loại mã khóa thậm chí còn khó mở hơn phương thức hiện đang được áp dụng trên các thiết bị Android.
Bản quyền của Apple mô tả các thao tác khóa màn hình có thể được thay đổi bởi chính người sử dụng ở cả hai phương diện kích cỡ và vị trí. Thay đổi về kích cỡ khóa có thể khiến màn hình của người dùng dễ hoặc khó chạm vào hơn trong khi sắp xếp lại vị trí của các “điểm khóa” sẽ khiến người ngoài khó lòng bẻ khóa do hình dạng của khóa khó dự đoán hơn trước. Hệ thống trên cũng được tích hợp chức năng vô hình dành cho các điểm khóa và chỉ xuất hiện lần lượt khi người dùng thao tác đúng.

Sẽ có những điểm khóa ẩn và chỉ xuất hiện khi người dùng thao tác đúng
Mặt khác, Apple cũng bổ sung thêm các tính năng mới vào hệ thống mở khóa để tăng độ phức tạp như tốc độ di chuyển ngón tay, điểm dừng hay các yếu tố thời gian khác. Với những cải tiến này, cùng một thao tác mở khóa nhưng sẽ có hàng loạt cách mở với những biến thể khác nhau và mỗi biến thể chỉ có một cách duy nhất để mở.
Không những vậy, hệ thống cũng hỗ trợ phương thức sử dụng nhiều ngón tay cùng một lúc và bổ sung thêm chức năng đo độ an toàn của mã. Không giống như thước đo đối với mã kí tự hay con số như chúng ta sử dụng hiện nay, hệ thống đo lường của Apple sẽ xếp hạng cao hay thấp dựa trên độ dài, độ phức tạp, tính ngẫu nhiên của mã bên cạnh các yếu tố khác nữa.



Khả năng đánh giá mức độ an toàn của mất khẩu sẽ dựa trên độ phức tạp, tính ngẫu nhiên,...
Hiện tại, Apple vẫn chưa có ý định xây dựng hệ thống trên cho bất kì thiết bị nào của mình trong tương lai gần bởi nó có nhiều nét tương đồng so với phương thức mở khóa hiện nay của Android. Tuy nhiên, đây cũng được xem như một dấu hiệu cho thấy Táo khuyết đang tìm một hướng đi mới trong công nghệ bảo mật khi hãng không chỉ sử dụng chữ và số đơn thuần như thường lệ, đặc biệt điều này diễn ra trong bối cảnh các sản phẩm công nghệ tương lai sẽ cần những phương thức bảo mật phức tạp hơn để tránh khả năng bị xâm nhập từ các hacker hoặc người ngoài.



Theo TTCN
VIETBF Diễn Đàn Hay Nhất Của Người Việt Nam

HOT NEWS 24h

HOT 3 Days

NEWS 3 Days

HOT 7 Days

NEWS 7 Days

HOME

Breaking News

VietOversea

World News

Business News

Car News

Computer News

Game News

USA News

Mobile News

Music News

Movies News

History

Thơ Ca

Sport News

Stranger Stories

Comedy Stories

Cooking Chat

Nice Pictures

Fashion

School

Travelling

Funny Videos

Canada Tin Hay

USA Tin Hay

VietBF Homepage Autoscroll

VietBF Video Autoscroll Portal

Home Classic

Home Classic Master Page



megaup
R9 Tuyệt Đỉnh Tôn Sư
Release: 04-21-2014
Reputation: 12346


Profile:
Join Date: Mar 2008
Posts: 43,284
Last Update: None Rating: None
Attached Thumbnails
Click image for larger version

Name:	Apple-2.jpg
Views:	3
Size:	26.4 KB
ID:	602303  
megaup_is_offline
Thanks: 1
Thanked 1,016 Times in 490 Posts
Mentioned: 0 Post(s)
Tagged: 0 Thread(s)
Quoted: 0 Post(s)
Rep Power: 61
megaup Reputation Uy Tín Level 6
megaup Reputation Uy Tín Level 6megaup Reputation Uy Tín Level 6megaup Reputation Uy Tín Level 6megaup Reputation Uy Tín Level 6megaup Reputation Uy Tín Level 6megaup Reputation Uy Tín Level 6megaup Reputation Uy Tín Level 6megaup Reputation Uy Tín Level 6megaup Reputation Uy Tín Level 6megaup Reputation Uy Tín Level 6megaup Reputation Uy Tín Level 6megaup Reputation Uy Tín Level 6megaup Reputation Uy Tín Level 6
Reply

User Tag List


Kế hoạch y tế mới của Trump: Chưa kịp ra mắt đã vỡ trận ngay trong nội bộ Cộng Hòa Cuộc trả thù chính trị của Trump: Từ vụ Comey, Letitia James đến đòn nhắm vào Mark Kelly Cơn say trên mây: Ai chịu trách nhiệm về hành khách nhậu nhẹt trên máy bay?
Giáng Sinh thắt lưng buộc bụng mà vẫn đủ ấm và đủ vui Mùa mua sắm Giáng Sinh 2025: Kinh tế chữ K và ảo giác “chi tiêu vẫn tăng” DOGE – thí nghiệm quyền lực thất bại của Trump và Musk
Ukraine, Trump và bản hòa ước mong manh giữa tiếng drone gầm rú Dũng Taylor: Căng thẳng đỉnh điểm giữa người Việt MAGA và người Việt Dân Chủ Hùng Cao về thăm Việt Nam: Từ đứa bé tị nạn đến kiến trúc sư an ninh Thái Bình Dương
“Ngày Tri Ân Trump” ở Little Saigon: khi tượng đài chiến sĩ bị biến thành sân khấu chính trị “Giải thưởng Neville Chamberlain” cho Trump và bản thỏa thuận 28 điểm bẩn thỉu Biển lửa Hồng Kông: giàn giáo tre bốc cháy, chung cư Tai Po hóa địa ngục giữa trời
Từ iPod đến “Delete Day”: Hành trình Gabriela Nguyễn thoát khỏi cơn nghiện mạng xã hội “Cha già dân tộc” đã khép lại: khi thần tượng chính trị bị kéo xuống mặt đất DOGE đã chết: “cải cách” 135 tỷ đô la đốt sạch tiền thuế của người Mỹ
VinFast VF 8 ở Mỹ: từ cáo buộc “sạc rùa bò” đến nguy cơ mất lái và lệnh triệu hồi hàng loạt Trump, Putin và ván cờ hòa bình Ukraine: khi “hạn chót” chỉ còn là lời nói gió bay 1.000 tỷ USD bốc hơi: Bitcoin bước vào thời kỳ ‘dành cho người thường’ và cơn say tiền số tan vỡ

 
Lên đầu Xuống dưới Lên 3000px Xuống 3000px

iPad Videos Portal Autoscroll

VietBF Music Portal Autoscroll

iPad News Portal Autoscroll

VietBF Homepage Autoscroll

VietBF Video Autoscroll Portal

USA News Autoscroll Portall

VietBF WORLD Autoscroll Portal

Home Classic

Super Widescreen

iPad World Portal Autoscroll

iPad USA Portal Autoscroll

Phim Bộ Online

Tin nóng nhất 24h qua

Tin nóng nhất 3 ngày qua

Tin nóng nhất 7 ngày qua

Tin nóng nhất 30 ngày qua

Albums

Total Videos Online
Lên đầu Xuống dưới Lên 3000px Xuống 3000px

Tranh luận sôi nổi nhất 7 ngày qua

Tranh luận sôi nổi nhất 14 ngày qua

Tranh luận sôi nổi nhất 30 ngày qua

10.000 Tin mới nhất

Tin tức Hoa Kỳ

Tin tức Công nghệ
Lên đầu Xuống dưới Lên 3000px Xuống 3000px

Super News

School Cooking Traveling Portal

Enter Portal

Series Shows and Movies Online

Home Classic Master Page

Donation Ủng hộ $3 cho VietBF
Lên đầu Xuống dưới Lên 3000px Xuống 3000px
Diễn Đàn Người Việt Hải Ngoại. Tự do ngôn luận, an toàn và uy tín. Vì một tương lai tươi đẹp cho các thế hệ Việt Nam hãy ghé thăm chúng tôi, hãy tâm sự với chúng tôi mỗi ngày, mỗi giờ và mỗi giây phút có thể. VietBF.Com Xin cám ơn các bạn, chúc tất cả các bạn vui vẻ và gặp nhiều may mắn.
Welcome to Vietnamese American Community, Vietnamese European, Canadian, Australian Forum, Vietnamese Overseas Forum. Freedom of speech, safety and prestige. For a beautiful future for Vietnamese generations, please visit us, talk to us every day, every hour and every moment possible. VietBF.Com Thank you all and good luck.

Lên đầu Xuống dưới Lên 3000px Xuống 3000px

All times are GMT. The time now is 21:56.
VietBF - Vietnamese Best Forum Copyright ©2005 - 2025
User Alert System provided by Advanced User Tagging (Pro) - vBulletin Mods & Addons Copyright © 2025 DragonByte Technologies Ltd.
Log Out Unregistered

Page generated in 0.11087 seconds with 13 queries