HOME-Au
HOME-Au
24h
24h
USA
USA
GOP
GOP
Phim Bộ
Phim Bộ
Videoauto
VIDEO-Au
Donation
Donation
News Book
News Book
News 50
News 50
worldautoscroll
WORLD-Au
Breaking
Breaking
 

Go Back   VietBF > Other > Mobile News|Tin Di Động


Reply
Thread Tools
 
 
  #1  
Old  Arrow Những sản phẩm độc nhất sắp cho ra mắt của Apple
Apple đã lên ý tưởng cho một số sản phẩm lạ mắt như nhẫn, vòng cổ, kính... và nhiều người kỳ vọng chúng sẽ sớm có mặt trên thị trường.

Nhẫn thông minh

Apple đăng ký và được cấp sáng chế về "thiết bị dạng nhẫn đeo được" lần đầu vào 2015. Kể từ đó, công ty liên tục nộp đơn bổ sung một loạt tính năng khác của nhẫn, như có thể đeo vào ngón tay và điều khiển các thiết bị như TV, điện thoại...


Ý tưởng nhẫn thông minh Apple. Ảnh: Phonearena

Trong hồ sơ đệ trình lên Văn phòng Nhãn hiệu và Sáng chế Mỹ (USTPO) hồi tháng 7, Apple mô tả chiếc nhẫn là "thiết bị không dây có thể sử dụng trên một hoặc nhiều ngón tay, gồm đầu vào cảm ứng, một hoặc nhiều bộ xử lý/bộ nhớ, chương trình cài sẵn để thực thi các tác vụ nhất định".

Một số nguồn tin cho biết Apple đang phát triển sản phẩm đeo tay, gọi là Apple Ring hoặc iRing có màn hình cảm ứng, dùng chip do công ty tự sản xuất, có thể kết hợp với thiết bị thông minh khác để thực hiện một số tính năng nhất định.

Trang sức thông minh


Mô tả vòng đeo cổ thông minh của Apple. Ảnh: Apple/USTPO

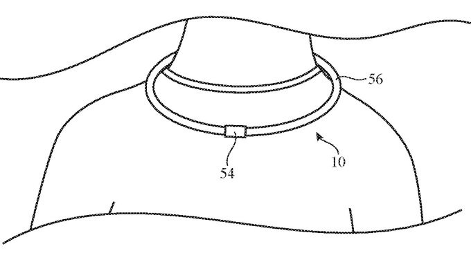
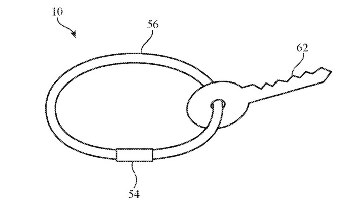
Apple cũng mới nhận được bằng sáng chế liên quan đến "vòng đeo với vi mạch điện được nhúng bên trong" vào giữa tháng 11. Trong hồ sơ nộp lên USTPO, công ty mô tả về "một thiết bị điện tử có hình dạng giống vòng, dạng dải hoặc chuỗi, có thể được quấn quanh, buộc vào, treo vào hoặc gắn vào người, động vật hoặc đồ vật".

Vòng đeo có thể được dùng để xác định và lưu trữ thông tin người đeo, như vị trí, hoạt động, nhận dạng, thông tin y tế, sinh trắc học. Sản phẩm có thể được sản xuất dưới dạng đeo vào cổ, cổ tay hoặc làm móc chìa khóa.


Mô tả móc khóa thông minh của Apple. Ảnh: Apple/USTPO

Kính mắt bảo mật

Bằng sáng chế mới của Apple mô tả thiết bị có tên Privacy Eyewear (Kính bảo mật), với chức năng duy nhất là đảm bảo quyền riêng tư. Chỉ người đeo kinh mới có thể xem nội dung trên màn hình iPhone, trong khi người xung quanh sẽ không thể thấy những gì smartphone này hiển thị.


Mô tả kính mắt bảo mật của Apple. Ảnh: Apple/USPTO

Theo hồ sơ sáng chế được Apple gửi lên USTPO, iPhone sẽ được bổ sung chức năng nhận dạng kính, quét khuôn mặt và các hệ thống quét nâng cao khác để nhận diện chủ nhân của nó. Một số trang công nghệ dự đoán với kính mới, Face ID sẽ mở rộng chức năng trong tương lai.

Kính thông minh

Apple từ lâu được cho là đang phát triển nhiều mẫu kính thông minh, đảm nhận các chức năng khác nhau. Hồi tháng 2, công ty nộp 3 đơn xin cấp bằng sáng chế lên USPTO, mô tả công nghệ có thể được dùng trong kính thực tế ảo của hãng thời gian tới. Mẫu kính có tính năng nhận dạng và phân tích hình ảnh, như đo độ tươi thực phẩm hay đánh giá độ chín, hàm lượng calo... của đồ ăn.

Trong khi đó, trang The Information cho biết Apple đang thử nghiệm kính dạng thực tế hỗn hợp. Thiết bị được trang bị hai màn hình 8K và các camera ở mặt ngoài để theo dõi chuyển động tay cũng như quay hình ảnh xung quanh. Apple còn đưa công nghệ theo dõi chuyển động mắt vào trong kính để điều chỉnh chất lượng hiển thị từng phần của màn hình, nhằm tối ưu hóa thời lượng pin. Trang Apple Insider dự đoán kính có giá hơn 1.000 USD.


Thiết kế kính thực tế ảo của Apple theo The Information.

Tuy nhiên, sản phẩm người dùng mong chờ nhất là mẫu kính thông minh được cho là có tên Apple Glass. Theo "chuyên gia tin đồn" Jon Prosser, Apple Glass có thiết kế thời trang, trông như kính mắt thông thường và hoạt động tương tự đồng hồ Apple Watch. Kính sẽ tích hợp cảm biến Lidar và hỗ trợ cả hai chế độ AR, VR.

Prosser cho biết đã nhìn thấy nguyên mẫu Apple Glass với khung nhựa, nhưng không loại trừ khả năng sẽ có bản sử dụng kim loại khi ra mắt chính thức. Ông dự đoán kính có giá bán lẻ 499 USD và ra mắt trong năm 2023.

iPhone hoàn toàn bằng kính

Sáng chế Apple vừa nhận được ngày 18/11 cho thấy công ty đang lên ý tưởng cho một chiếc smartphone làm hoàn toàn bằng vỏ kính. Trong đó, các tấm kính được chồng lên nhau, uốn cong ở mép viền và có các đường cắt để lấy chỗ cho micro, loa...


Sáng chế về iPhone hoàn toàn bằng kính. Ảnh: Apple/USPTO

Theo Apple, các điện thoại có thể đặt cạnh nhau thành một khối liền mạch. Người dùng có thể chuyển đổi ứng dụng hoặc file nội dung từ iPhone này sang iPhone khác chỉ bằng thao tác kéo thả.

Không chỉ iPhone, Apple còn có tham vọng tạo Apple Watch, iPad, máy Mac... với kết cấu vỏ kính và tính năng tương tự. Theo Macrumors, nếu những sản phẩm này ra mắt, việc trải nghiệm hệ sinh thái thiết bị Apple sẽ được nâng lên tầm cao mới.
Dịch trang: EnglishEnglish DeutschDeutsch FrançaisFrançais EspañolEspañol ItalianoItaliano PortuguêsPortuguês
NorskNorsk NederlandsNederlands DanskDansk SuomiSuomi PolskiPolski ČeštinaČeština РусскийРусский
日本語日本語 한국어한국어 中文(简体)中文(简体) 中文(繁體)中文(繁體) MagyarMagyar TürkçeTürkçe
العربيةالعربية ไทยไทย LatinaLatina हिन्दीहिन्दी Bahasa IndonesiaBahasa Indonesia Bahasa MelayuBahasa Melayu
VIETBF Hybrid Community Content Hub

HOT NEWS 24h

HOT 3 Days

NEWS 3 Days

HOT 7 Days

NEWS 7 Days

HOME

Breaking News

VietOversea

World News

Business News

Car News

Computer News

Game News

USA News

Mobile News

Music News

Movies News

History

Thơ Ca

Sport News

Stranger Stories

Comedy Stories

Cooking Chat

Nice Pictures

Fashion

School

Travelling

Funny Videos

Canada Tin Hay

USA Tin Hay

VietBF Homepage Autoscroll

VietBF Video Autoscroll Portal

Video Classic Master

iPad News Portal

VietBF iPad Music Portal

Tin nóng nhất 50h qua

Phim Bộ Online

Phim Bộ



sunshine1104
R10 Vô Địch Thiên Hạ
Release: 11-21-2021
Reputation: 25202


Profile:
Join Date: Feb 2015
Posts: 80,820
Last Update: None Rating: None
Attached Thumbnails
Click image for larger version

Name:	6.jpg
Views:	0
Size:	12.5 KB
ID:	1927823   Click image for larger version

Name:	61.jpg
Views:	0
Size:	31.0 KB
ID:	1927824   Click image for larger version

Name:	62.jpg
Views:	0
Size:	25.8 KB
ID:	1927825  

Click image for larger version

Name:	63.jpg
Views:	0
Size:	39.7 KB
ID:	1927826   Click image for larger version

Name:	64.jpg
Views:	0
Size:	37.8 KB
ID:	1927827   Click image for larger version

Name:	65.jpg
Views:	0
Size:	59.3 KB
ID:	1927828  

sunshine1104_is_offline
Thanks: 4
Thanked 4,057 Times in 3,573 Posts
Mentioned: 4 Post(s)
Tagged: 0 Thread(s)
Quoted: 22 Post(s)
Rep Power: 93
sunshine1104 Reputation Uy Tín Level 7sunshine1104 Reputation Uy Tín Level 7
sunshine1104 Reputation Uy Tín Level 7sunshine1104 Reputation Uy Tín Level 7sunshine1104 Reputation Uy Tín Level 7sunshine1104 Reputation Uy Tín Level 7sunshine1104 Reputation Uy Tín Level 7sunshine1104 Reputation Uy Tín Level 7sunshine1104 Reputation Uy Tín Level 7sunshine1104 Reputation Uy Tín Level 7sunshine1104 Reputation Uy Tín Level 7sunshine1104 Reputation Uy Tín Level 7sunshine1104 Reputation Uy Tín Level 7sunshine1104 Reputation Uy Tín Level 7sunshine1104 Reputation Uy Tín Level 7sunshine1104 Reputation Uy Tín Level 7sunshine1104 Reputation Uy Tín Level 7sunshine1104 Reputation Uy Tín Level 7sunshine1104 Reputation Uy Tín Level 7sunshine1104 Reputation Uy Tín Level 7sunshine1104 Reputation Uy Tín Level 7
Dịch trang: EnglishEnglish DeutschDeutsch FrançaisFrançais EspañolEspañol ItalianoItaliano PortuguêsPortuguês
NorskNorsk NederlandsNederlands DanskDansk SuomiSuomi PolskiPolski ČeštinaČeština РусскийРусский
日本語日本語 한국어한국어 中文(简体)中文(简体) 中文(繁體)中文(繁體) MagyarMagyar TürkçeTürkçe
العربيةالعربية ไทยไทย LatinaLatina हिन्दीहिन्दी Bahasa IndonesiaBahasa Indonesia Bahasa MelayuBahasa Melayu
Reply

User Tag List



 

iPad Videos Portal Autoscroll

VietBF Music Portal Autoscroll

iPad News Portal Autoscroll

VietBF Homepage Autoscroll

VietBF Video Autoscroll Portal

USA News Autoscroll Portall

VietBF WORLD Autoscroll Portal

Video Classic Master Page

Super Widescreen

iPad World Portal Autoscroll

iPad USA Portal Autoscroll

Phim Bộ Online
Lên đầu Xuống dưới Lên 3000px Xuống 3000px

Tin nóng nhất 24h qua

Tin nóng nhất 3 ngày qua

Tin nóng nhất 7 ngày qua

Tin nóng nhất 30 ngày qua

Albums

Total Videos Online

Tranh luận sôi nổi nhất 7 ngày qua

Tranh luận sôi nổi nhất 14 ngày qua

Tranh luận sôi nổi nhất 30 ngày qua

10.000 Tin mới nhất

Tin tức Hoa Kỳ

Tin tức Công nghệ
Lên đầu Xuống dưới Lên 3000px Xuống 3000px

Duo Series Movies Portal

Duo Music Portal

Phim Bộ

Tỷ Giá

Thời Tiết

Tin Nóng Nhất 50h

Super News

School Cooking Traveling Portal

Enter Portal

Series Shows and Movies Online

Home Classic Master Page

Donation Ủng hộ $3 cho VietBF
Lên đầu Xuống dưới Lên 3000px Xuống 3000px
Diễn Đàn Người Việt Hải Ngoại. Tự do ngôn luận, an toàn và uy tín. Vì một tương lai tươi đẹp cho các thế hệ Việt Nam hãy ghé thăm chúng tôi, hãy tâm sự với chúng tôi mỗi ngày, mỗi giờ và mỗi giây phút có thể. VietBF.Com Xin cám ơn các bạn, chúc tất cả các bạn vui vẻ và gặp nhiều may mắn.
Welcome to Vietnamese American Community, Vietnamese European, Canadian, Australian Forum, Vietnamese Overseas Forum. Freedom of speech, safety and prestige. For a beautiful future for Vietnamese generations, please visit us, talk to us every day, every hour and every moment possible. VietBF.Com Thank you all and good luck.

Lên đầu Xuống dưới Lên 3000px Xuống 3000px

All times are GMT. The time now is 19:27.
VietBF - Vietnamese Best Forum Copyright ©2005 - 2026
User Alert System provided by Advanced User Tagging (Pro) - vBulletin Mods & Addons Copyright © 2026 DragonByte Technologies Ltd.
Log Out Unregistered

Page generated in 0.19323 seconds with 13 queries