HOME-Au
HOME-Au
24h
24h
USA
USA
GOP
GOP
Phim Bộ
Phim Bộ
Videoauto
VIDEO-Au
Home Classic
Home Classic
Donation
Donation
News Book
News Book
News 50
News 50
worldautoscroll
WORLD-Au
Breaking
Breaking
 

Go Back   VietBF > Other News|Tin Khác > Mobile News|Tin Di Động


Reply
 
Thread Tools
  #1  
Old  Default Vuốt ở cạnh là cách dùng iPhone theo kiểu mới được Apple đăng ký trong bằng sáng chế
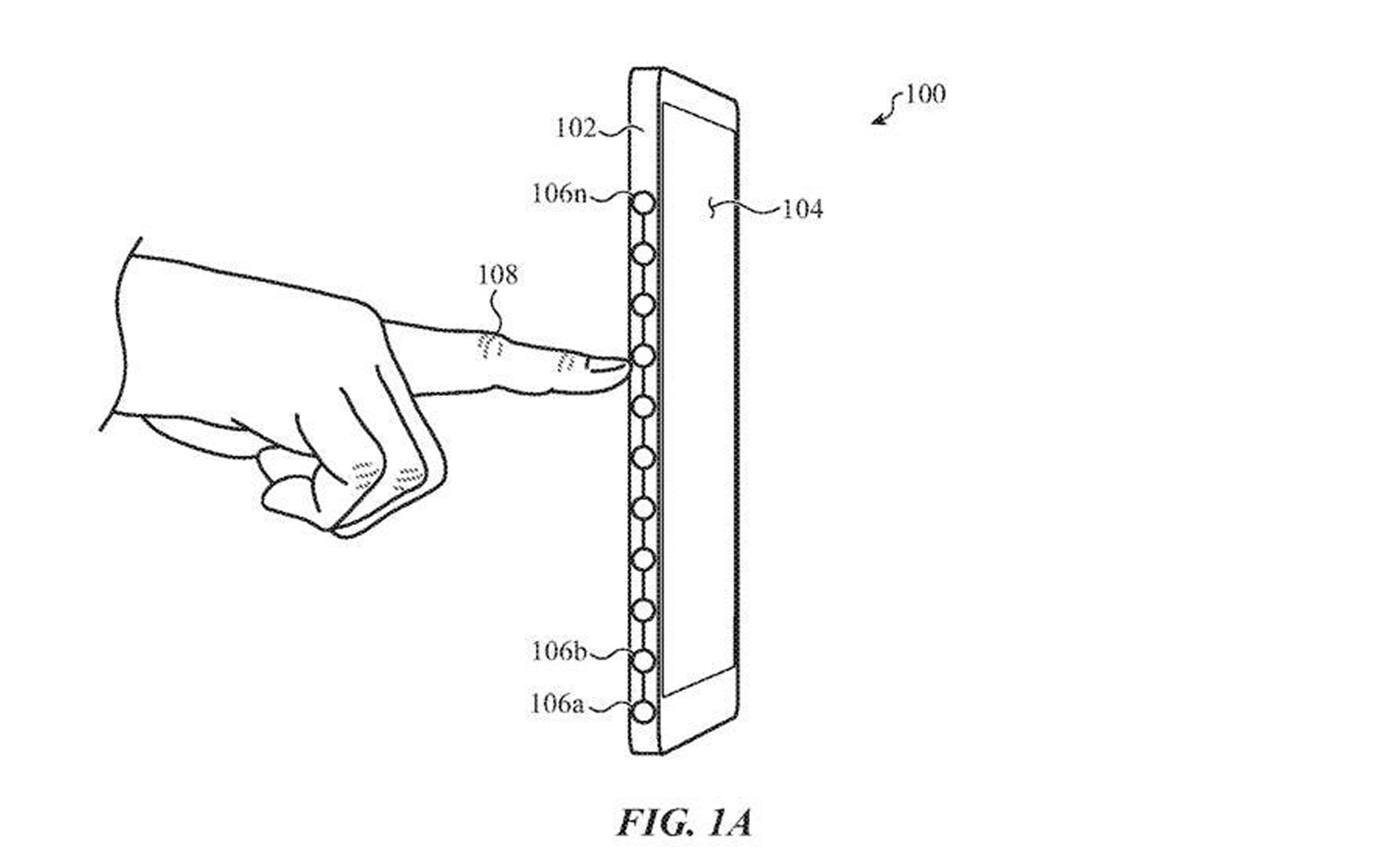
Theo một bằng sáng chế phát hiện bởi Palently Apple. IPhone trong tương lai có thể được sử dụng theo một cách mới mẻ như có thể vuốt cảm ứng ở cạnh bên. Cảm biến này sẽ giúp người dùng cuộn trang mà không cần dùng ngón tay thao tác trên màn hình như cảm ứng hiện tại.

Thay vì sử dụng iPhone như cách truyền thống hàng thập kỷ nay, có khả năng Apple sẽ đầu tư nguồn lực để tìm ra các cách thức sử dụng iPhone mới mẻ, sáng tạo hơn. Việc thực hiện vuốt để cuộn trang ở cảm biến cạnh bên, có thể hạn chế tình trạng ngón tay chiếm tầm nhìn màn hình cũng như bớt dấu vân tay trên màn hình.



Có thể ý tưởng này sẽ được Apple Pencil ứng dụng trước thông qua tính năng Force Touch. Khi đó nếu dùng bút ấn mạnh màn hình sẽ phản ứng như chuyển sang tối màu, tô màu hoặc vẽ nét dày. Apple Pencil hiện chỉ hoạt động với iPad nên không rõ liệu bằng sáng chế này có dẫn đến khả năng trong tương lai nó sẽ tương thích với iPhone hay không.

Theo bằng sáng chế, cách thức điều khiển iPhone mới này sẽ dùng nguồn sáng laser như là công nghệ VCSEL laser chiếu ánh sáng vào ống dẫn sóng. Ở tại một vị trí phát hiện tín hiệu nào đó, khi hành động chạm hoặc có lực tác động vào cảm biến, hiện tượng biến đổi ánh sáng sẽ xảy ra và được đưa vào ống dẫn sóng, tín hiệu được ghi nhận và khi đó điện thoại sẽ phản hồi. Tức là cách tương tác với điện thoại cảm ứng sẽ không còn bị hạn chế, kể cả đeo găng tay điện thoại cũng nhận được tín hiệu thông qua cảm biến diode laser.

Trước ý tưởng của Apple đã có nhiều thương hiệu di động sử dụng cạnh bên điện thoại để tương tác với thiết bị. Chẳng hạn như HTC đã từng làm cảm biến lực ở cạnh hay Sony có thể hiện thị menu bằng cách dùng các cử chỉ cạnh bên.
VIETBF Diễn Đàn Hay Nhất Của Người Việt Nam

HOT NEWS 24h

HOT 3 Days

NEWS 3 Days

HOT 7 Days

NEWS 7 Days

HOME

Breaking News

VietOversea

World News

Business News

Car News

Computer News

Game News

USA News

Mobile News

Music News

Movies News

History

Thơ Ca

Sport News

Stranger Stories

Comedy Stories

Cooking Chat

Nice Pictures

Fashion

School

Travelling

Funny Videos

Canada Tin Hay

USA Tin Hay

VietBF Homepage Autoscroll

VietBF Video Autoscroll Portal

Home Classic

Home Classic Master Page



nguoiduatinabc
R10 Vô Địch Thiên Hạ
Release: 07-26-2022
Reputation: 22126


Profile:
Join Date: Apr 2016
Posts: 81,511
Last Update: None Rating: None
Attached Thumbnails
Click image for larger version

Name:	6065779_bang-sang-che-Apple.jpg
Views:	0
Size:	102.9 KB
ID:	2087992  
nguoiduatinabc_is_offline
Thanks: 168
Thanked 5,398 Times in 4,373 Posts
Mentioned: 4 Post(s)
Tagged: 0 Thread(s)
Quoted: 29 Post(s)
Rep Power: 92
nguoiduatinabc Reputation Uy Tín Level 7nguoiduatinabc Reputation Uy Tín Level 7
nguoiduatinabc Reputation Uy Tín Level 7nguoiduatinabc Reputation Uy Tín Level 7nguoiduatinabc Reputation Uy Tín Level 7nguoiduatinabc Reputation Uy Tín Level 7nguoiduatinabc Reputation Uy Tín Level 7nguoiduatinabc Reputation Uy Tín Level 7nguoiduatinabc Reputation Uy Tín Level 7nguoiduatinabc Reputation Uy Tín Level 7nguoiduatinabc Reputation Uy Tín Level 7nguoiduatinabc Reputation Uy Tín Level 7nguoiduatinabc Reputation Uy Tín Level 7nguoiduatinabc Reputation Uy Tín Level 7nguoiduatinabc Reputation Uy Tín Level 7
Reply

User Tag List


Vì sao ngày xưa vua miễn thuế khi bão lụt, còn ngày nay thì không? Phép tính lạnh lùng của quyền lực Lindsey Halligan: 63 Ngày Hỗn Loạn Ở Viện Công Tố Virginia Việt Cộng sẽ tịch thu toàn bộ tiền của Việt kiều gửi trong ngân hàng?
Từ ‘Sổ Sinh Tử’ Đến Những Tấm Bưu Thiếp Tự Do: Lời Kêu Gọi Từ Buổi Tưởng Niệm 50 Năm Quốc Nạn 1975–2025 Paris By Night Lặng Im: Khi Đế Chế Giải Trí Chạm Đáy Khủng Hoảng Địa Ngục Lửa Trên Cao Ốc: Thảm Họa Wang Fuk Court Rúng Động Hồng Kông, ít nhất 146 người chết, khoảng 40 người vẫn còn mất tích
Ván Cờ Hòa Bình Của Trump: Ukraine Giữa Thể Diện Dân Tộc, Bom Đạn Và Lính Đánh Thuê Toàn Cầu Thảm Sát Trong Tiệc Sinh Nhật Ở California: Khi Bữa Tiệc Gia Đình Hóa Chiến Trường Đẫm Máu Vì sao Paris By Night và nghệ sĩ hải ngoại đồng loạt im lặng trước chuyện chống Cộng?
Nghề nail người Việt giữa cơn bão 2025: khi ghế trống nhiều hơn khách Giáng sinh kiểu Mỹ 2025: Rạp phim cháy vé, gấu bông biết nói nhảm và nỗi băn khoăn “có nên cho con tiền lúc mình còn sống?” Bitcoin lao dốc, vàng – bạc lập kỷ lục: cơn “sốc Nhật Bản” đang dọa thổi bay cú rally cuối năm của Phố Wall
Black Friday 2025: Người Mỹ mua nhiều mà được ít – thuế Trump và “K-đồ thị” xé đôi túi tiền Chống tham nhũng làm nghẽn “cỗ máy chiến tranh”: Doanh thu quốc phòng Trung Quốc bất ngờ lao dốc Cựu tiếp viên hàng không và “luật ngầm” 4 triệu – 7 triệu: đường dây mại dâm Tài Nguyên Fortuner II lộ sáng
Quân Lực VNCH – Ai còn nhớ, ai đã quên: TQLC Phúc Yên Nguyễn Xuân Phúc và một “tổn thất” của Khóa 16 Kinh tế Trung Quốc đang tan rã từ bên trong: “phép màu” chỉ là một phim trường khổng lồ Giữa Nước Mỹ Chia Rẽ: Tâm Sự Của Một Người Nhập Cư

 
Lên đầu Xuống dưới Lên 3000px Xuống 3000px

iPad Videos Portal Autoscroll

VietBF Music Portal Autoscroll

iPad News Portal Autoscroll

VietBF Homepage Autoscroll

VietBF Video Autoscroll Portal

USA News Autoscroll Portall

VietBF WORLD Autoscroll Portal

Home Classic

Super Widescreen

iPad World Portal Autoscroll

iPad USA Portal Autoscroll

Phim Bộ Online

Tin nóng nhất 24h qua

Tin nóng nhất 3 ngày qua

Tin nóng nhất 7 ngày qua

Tin nóng nhất 30 ngày qua

Albums

Total Videos Online
Lên đầu Xuống dưới Lên 3000px Xuống 3000px

Tranh luận sôi nổi nhất 7 ngày qua

Tranh luận sôi nổi nhất 14 ngày qua

Tranh luận sôi nổi nhất 30 ngày qua

10.000 Tin mới nhất

Tin tức Hoa Kỳ

Tin tức Công nghệ
Lên đầu Xuống dưới Lên 3000px Xuống 3000px

Super News

School Cooking Traveling Portal

Enter Portal

Series Shows and Movies Online

Home Classic Master Page

Donation Ủng hộ $3 cho VietBF
Lên đầu Xuống dưới Lên 3000px Xuống 3000px
Diễn Đàn Người Việt Hải Ngoại. Tự do ngôn luận, an toàn và uy tín. Vì một tương lai tươi đẹp cho các thế hệ Việt Nam hãy ghé thăm chúng tôi, hãy tâm sự với chúng tôi mỗi ngày, mỗi giờ và mỗi giây phút có thể. VietBF.Com Xin cám ơn các bạn, chúc tất cả các bạn vui vẻ và gặp nhiều may mắn.
Welcome to Vietnamese American Community, Vietnamese European, Canadian, Australian Forum, Vietnamese Overseas Forum. Freedom of speech, safety and prestige. For a beautiful future for Vietnamese generations, please visit us, talk to us every day, every hour and every moment possible. VietBF.Com Thank you all and good luck.

Lên đầu Xuống dưới Lên 3000px Xuống 3000px

All times are GMT. The time now is 11:59.
VietBF - Vietnamese Best Forum Copyright ©2005 - 2025
User Alert System provided by Advanced User Tagging (Pro) - vBulletin Mods & Addons Copyright © 2025 DragonByte Technologies Ltd.
Log Out Unregistered

Page generated in 0.13515 seconds with 15 queries