HOME-Au
HOME-Au
24h
24h
USA
USA
GOP
GOP
Phim Bộ
Phim Bộ
Videoauto
VIDEO-Au
Donation
Donation
News Book
News Book
News 50
News 50
worldautoscroll
WORLD-Au
Breaking
Breaking
 

Go Back   VietBF > Other > Auto News |Tin Ô Tô


Reply
Thread Tools
 
 
  #1  
Old  Default Tesla đăng ký bằng sáng chế sử dụng tia laser thay cần gạt nước
Xe điện gắn 'súng laser': Tesla đăng ký bằng sáng chế sử dụng tia laser thay cần gạt nước
KIM | 17/09/2021 11:24

BÁO NÓI - 1:46
Xe điện gắn 'súng laser': Tesla đăng ký bằng sáng chế sử dụng tia laser thay cần gạt nước
Một tổ hợp công nghệ từng được cho là viễn tưởng: xe chạy điện, tự hành và gắn cả "súng laser".

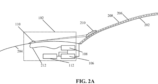
Tesla muốn gắn "súng laser" lên xe, và đã một bước gần hơn tới công nghệ này. Công ty sản xuất và lắp ráp xe điện của Elon Musk vừa đăng ký bằng sáng chế sử dụng tia laser để làm sạch kính chắn gió.


Theo Electrek đưa tin, Tesla đã có được bằng đăng ký sáng chế này từ Văn phòng Sáng chế và Nhãn hiệu Hoa Kỳ trong tuần trước. Nội dung của bằng mô tả một thiết bị “bắn ra tia laser dọn dẹp mảng bám trên kính chắn gió của ô tô và các bề mặt thiết bị quang điện khác”, chứng tỏ Tesla không chỉ định dùng tia laser để làm sạch kính chắn gió trên xe điện, mà sẽ áp dụng công nghệ này để làm sạch bề mặt pin năng lượng Mặt Trời.
Theo như mô tả, hệ thống tia laser được gắn trên nắp capo sẽ chiếu thẳng những tia sáng cường độ cao vào kính chắn gió. Bộ điều khiển sẽ điều chỉnh cường độ laser sao cho nó không thể xuyên thấu kính, làm giảm tác động của tia laser tới cấu trúc kính cũng như những thành phần khác của xe. Hiển nhiên, Tesla cũng không muốn người điều khiển xe đối diện với nguy hiểm mà tia laser mang lại. Có lẽ Tesla đã có phương pháp bảo vệ tài xế nào đó mà ta chưa rõ.



Bằng đăng ký sáng chế còn bao gồm ít nhất một camera để phát hiện mảng bám trên kính chắn gió, một lớp sơn phủ trong suốt đặc biệt trên kính và thiết bị cho phép điều hướng tia laser.
Cũng phải nói thêm, việc Tesla đăng ký bằng sáng chế không có nghĩa họ sẽ sử dụng thiết bị này trong tương lai gần. Công ty còn có trong tay giấy phép sử dụng công nghệ điện từ thay thế cần gạt nước mà chưa có sản phẩm thực tế nào. Những người tiêu dùng đam mê xe điện sẽ phải chờ thêm ít lâu trước khi những công nghệ “viễn tưởng” này đi vào sử dụng.

VietBF@sưu tập
Dịch trang: EnglishEnglish DeutschDeutsch FrançaisFrançais EspañolEspañol ItalianoItaliano PortuguêsPortuguês
NorskNorsk NederlandsNederlands DanskDansk SuomiSuomi PolskiPolski ČeštinaČeština РусскийРусский
日本語日本語 한국어한국어 中文(简体)中文(简体) 中文(繁體)中文(繁體) MagyarMagyar TürkçeTürkçe
العربيةالعربية ไทยไทย LatinaLatina हिन्दीहिन्दी Bahasa IndonesiaBahasa Indonesia Bahasa MelayuBahasa Melayu
VIETBF Hybrid Community Content Hub

HOT NEWS 24h

HOT 3 Days

NEWS 3 Days

HOT 7 Days

NEWS 7 Days

HOME

Breaking News

VietOversea

World News

Business News

Car News

Computer News

Game News

USA News

Mobile News

Music News

Movies News

History

Thơ Ca

Sport News

Stranger Stories

Comedy Stories

Cooking Chat

Nice Pictures

Fashion

School

Travelling

Funny Videos

Canada Tin Hay

USA Tin Hay

VietBF Homepage Autoscroll

VietBF Video Autoscroll Portal

Video Classic Master

iPad News Portal

VietBF iPad Music Portal

Tin nóng nhất 50h qua

Phim Bộ Online

Phim Bộ



goodidea
R10 Vô Địch Thiên Hạ
Release: 09-18-2021
Reputation: 208577


Profile:
Join Date: Mar 2020
Posts: 61,954
Last Update: None Rating: None
Attached Thumbnails
Click image for larger version

Name:	57.jpg
Views:	0
Size:	174.6 KB
ID:	1872717   Click image for larger version

Name:	57.2.jpg
Views:	0
Size:	25.8 KB
ID:	1872718   Click image for larger version

Name:	57.3.png
Views:	0
Size:	148.4 KB
ID:	1872719  

goodidea_is_offline
Thanks: 72
Thanked 3,800 Times in 3,314 Posts
Mentioned: 0 Post(s)
Tagged: 0 Thread(s)
Quoted: 34 Post(s)
Rep Power: 78
goodidea Reputation Uy Tín Level 10goodidea Reputation Uy Tín Level 10goodidea Reputation Uy Tín Level 10goodidea Reputation Uy Tín Level 10
goodidea Reputation Uy Tín Level 10goodidea Reputation Uy Tín Level 10goodidea Reputation Uy Tín Level 10goodidea Reputation Uy Tín Level 10goodidea Reputation Uy Tín Level 10goodidea Reputation Uy Tín Level 10goodidea Reputation Uy Tín Level 10goodidea Reputation Uy Tín Level 10goodidea Reputation Uy Tín Level 10goodidea Reputation Uy Tín Level 10goodidea Reputation Uy Tín Level 10goodidea Reputation Uy Tín Level 10goodidea Reputation Uy Tín Level 10goodidea Reputation Uy Tín Level 10goodidea Reputation Uy Tín Level 10goodidea Reputation Uy Tín Level 10goodidea Reputation Uy Tín Level 10goodidea Reputation Uy Tín Level 10goodidea Reputation Uy Tín Level 10goodidea Reputation Uy Tín Level 10goodidea Reputation Uy Tín Level 10goodidea Reputation Uy Tín Level 10goodidea Reputation Uy Tín Level 10
Dịch trang: EnglishEnglish DeutschDeutsch FrançaisFrançais EspañolEspañol ItalianoItaliano PortuguêsPortuguês
NorskNorsk NederlandsNederlands DanskDansk SuomiSuomi PolskiPolski ČeštinaČeština РусскийРусский
日本語日本語 한국어한국어 中文(简体)中文(简体) 中文(繁體)中文(繁體) MagyarMagyar TürkçeTürkçe
العربيةالعربية ไทยไทย LatinaLatina हिन्दीहिन्दी Bahasa IndonesiaBahasa Indonesia Bahasa MelayuBahasa Melayu
Reply

User Tag List



 

iPad Videos Portal Autoscroll

VietBF Music Portal Autoscroll

iPad News Portal Autoscroll

VietBF Homepage Autoscroll

VietBF Video Autoscroll Portal

USA News Autoscroll Portall

VietBF WORLD Autoscroll Portal

Video Classic Master Page

Super Widescreen

iPad World Portal Autoscroll

iPad USA Portal Autoscroll

Phim Bộ Online
Lên đầu Xuống dưới Lên 3000px Xuống 3000px

Tin nóng nhất 24h qua

Tin nóng nhất 3 ngày qua

Tin nóng nhất 7 ngày qua

Tin nóng nhất 30 ngày qua

Albums

Total Videos Online

Tranh luận sôi nổi nhất 7 ngày qua

Tranh luận sôi nổi nhất 14 ngày qua

Tranh luận sôi nổi nhất 30 ngày qua

10.000 Tin mới nhất

Tin tức Hoa Kỳ

Tin tức Công nghệ
Lên đầu Xuống dưới Lên 3000px Xuống 3000px

Duo Series Movies Portal

Duo Music Portal

Phim Bộ

Tỷ Giá

Thời Tiết

Tin Nóng Nhất 50h

Super News

School Cooking Traveling Portal

Enter Portal

Series Shows and Movies Online

Home Classic Master Page

Donation Ủng hộ $3 cho VietBF
Lên đầu Xuống dưới Lên 3000px Xuống 3000px
Diễn Đàn Người Việt Hải Ngoại. Tự do ngôn luận, an toàn và uy tín. Vì một tương lai tươi đẹp cho các thế hệ Việt Nam hãy ghé thăm chúng tôi, hãy tâm sự với chúng tôi mỗi ngày, mỗi giờ và mỗi giây phút có thể. VietBF.Com Xin cám ơn các bạn, chúc tất cả các bạn vui vẻ và gặp nhiều may mắn.
Welcome to Vietnamese American Community, Vietnamese European, Canadian, Australian Forum, Vietnamese Overseas Forum. Freedom of speech, safety and prestige. For a beautiful future for Vietnamese generations, please visit us, talk to us every day, every hour and every moment possible. VietBF.Com Thank you all and good luck.

Lên đầu Xuống dưới Lên 3000px Xuống 3000px

All times are GMT. The time now is 07:50.
VietBF - Vietnamese Best Forum Copyright ©2005 - 2026
User Alert System provided by Advanced User Tagging (Pro) - vBulletin Mods & Addons Copyright © 2026 DragonByte Technologies Ltd.
Log Out Unregistered

Page generated in 0.11142 seconds with 15 queries