HOME-Au
HOME-Au
24h
24h
USA
USA
GOP
GOP
Phim Bộ
Phim Bộ
Videoauto
VIDEO-Au
Donation
Donation
News Book
News Book
News 50
News 50
worldautoscroll
WORLD-Au
Breaking
Breaking
 

Go Back   VietBF > Other > Mobile News|Tin Di Động


Reply
Thread Tools
 
 
  #1  
Old  Default iPhone ngày càng đẹp, bền hơn nhờ lý do này
Apple đã công bố những nguyên tố chính khiến những sản phẩm smartphone ngày càng hoàn thiện hơn. Theo đó, những thứ này đều được ghi trong phần bằng sáng chế. Sự tỉ mỉ trong hoàn thiện sản phẩm đã giúp Apple được lòng người dùng hơn.

Sắp tới, Apple có thể làm cho kính ở mặt trước của iPhone hoặc iPad thậm chí còn mạnh hơn và mỏng hơn, bằng cách sử dụng một cấu trúc hỗ trợ đặc biệt với các cạnh kính.

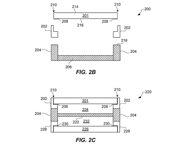
Điện thoại thông minh như iPhone và các thiết bị di động khác thường sử dụng các tấm kính phía trước màn hình. Lớp kính này có nhiệm vụ chính là bảo vệ màn hình mỏng manh khỏi va đập và trầy xước, đồng thời là một phần thiết kế bên ngoài của chính thiết bị. Sự phát triển không ngừng của thiết kế thiết bị phụ thuộc nhiều vào lớp kính cong cho mặt trước, điều này đưa ra những thách thức thiết kế không hề dễ dàng.

iPhone 12 Pro.

Trong một bằng sáng chế do Văn phòng Thương hiệu và Bằng sáng chế Mỹ cấp vào thứ Ba cho thấy Apple đang nỗ lực giúp iPhone tương lai giảm tối đa độ dày của mặt kính trên màn hình. Giải pháp của “Nhà Táo” là sử dụng kết cấu mới cho lớp kính xung quanh mép của mặt kính. Phần kính này đóng vai trò trung gian giữa khung và lớp kính mỏng.

Ví dụ, trên iPhone 12, Apple có thể tạo ra loại kính có lớp phủ thủy tinh Ceramic Shield để bảo vệ màn hình mỏng, nhưng sẽ sử dụng kết cấu kính hoàn toàn khác cho khu vực viền.

Hình ảnh trong bằng sáng chế.

Theo “Táo Khuyết”, cấu trúc kính có thể được đúc liền kề với vỏ kính, để tạo thành một "giao diện không có khe hở". Đồng thời, cấu trúc hỗ trợ có thể có các bộ phận bổ sung được tích hợp, có thể hỗ trợ việc lắp mặt kính một cách hoàn hảo.

Bằng sáng chế liệt kê các nhà phát minh là David Pakula, Stephen Brian Lynch, Richard Hung Minh Dinh, Tang Yew Tan và Lee Hua Tan. Ban đầu, bằng sáng chế được nộp vào ngày 13/1/2020.

Hình ảnh trong bằng sáng chế.

Số lượng bằng sáng chế của Apple được cấp phép là vô cùng lớn. Mặc dù sự tồn tại của bằng sáng chế cho thấy các lĩnh vực quan tâm và các nỗ lực nghiên cứu và phát triển của Apple nhưng vẫn không đảm bảo những ý tưởng đó sẽ xuất hiện trong một sản phẩm hoặc dịch vụ trong tương lai. Bởi lẽ, “ông trùm” công nghệ luôn có những bước tiến chắc chắn và khôn ngoan với mỗi công nghệ mới, đảm bảo người dùng sở hữu những thiết bị cao cấp và đáng tiền nhất.

VietBF Sưu Tầm
Dịch trang: EnglishEnglish DeutschDeutsch FrançaisFrançais EspañolEspañol ItalianoItaliano PortuguêsPortuguês
NorskNorsk NederlandsNederlands DanskDansk SuomiSuomi PolskiPolski ČeštinaČeština РусскийРусский
日本語日本語 한국어한국어 中文(简体)中文(简体) 中文(繁體)中文(繁體) MagyarMagyar TürkçeTürkçe
العربيةالعربية ไทยไทย LatinaLatina हिन्दीहिन्दी Bahasa IndonesiaBahasa Indonesia Bahasa MelayuBahasa Melayu
VIETBF Hybrid Community Content Hub

HOT NEWS 24h

HOT 3 Days

NEWS 3 Days

HOT 7 Days

NEWS 7 Days

HOME

Breaking News

VietOversea

World News

Business News

Car News

Computer News

Game News

USA News

Mobile News

Music News

Movies News

History

Thơ Ca

Sport News

Stranger Stories

Comedy Stories

Cooking Chat

Nice Pictures

Fashion

School

Travelling

Funny Videos

Canada Tin Hay

USA Tin Hay

VietBF Homepage Autoscroll

VietBF Video Autoscroll Portal

Video Classic Master

iPad News Portal

VietBF iPad Music Portal

Tin nóng nhất 50h qua

Phim Bộ Online

Phim Bộ



miro1510
R9 Tuyệt Đỉnh Tôn Sư
Release: 05-26-2021
Reputation: 13837


Profile:
Join Date: Oct 2014
Posts: 47,171
Last Update: None Rating: None
Attached Thumbnails
Click image for larger version

Name:	7.1.jpg
Views:	0
Size:	168.2 KB
ID:	1798056   Click image for larger version

Name:	7.2.jpg
Views:	0
Size:	63.1 KB
ID:	1798057   Click image for larger version

Name:	7.3.jpg
Views:	0
Size:	45.4 KB
ID:	1798058  

miro1510_is_offline
Thanks: 9
Thanked 2,096 Times in 1,935 Posts
Mentioned: 3 Post(s)
Tagged: 0 Thread(s)
Quoted: 8 Post(s)
Rep Power: 59
miro1510 Reputation Uy Tín Level 6
miro1510 Reputation Uy Tín Level 6miro1510 Reputation Uy Tín Level 6miro1510 Reputation Uy Tín Level 6miro1510 Reputation Uy Tín Level 6miro1510 Reputation Uy Tín Level 6miro1510 Reputation Uy Tín Level 6miro1510 Reputation Uy Tín Level 6miro1510 Reputation Uy Tín Level 6miro1510 Reputation Uy Tín Level 6miro1510 Reputation Uy Tín Level 6miro1510 Reputation Uy Tín Level 6miro1510 Reputation Uy Tín Level 6miro1510 Reputation Uy Tín Level 6miro1510 Reputation Uy Tín Level 6miro1510 Reputation Uy Tín Level 6miro1510 Reputation Uy Tín Level 6
Dịch trang: EnglishEnglish DeutschDeutsch FrançaisFrançais EspañolEspañol ItalianoItaliano PortuguêsPortuguês
NorskNorsk NederlandsNederlands DanskDansk SuomiSuomi PolskiPolski ČeštinaČeština РусскийРусский
日本語日本語 한국어한국어 中文(简体)中文(简体) 中文(繁體)中文(繁體) MagyarMagyar TürkçeTürkçe
العربيةالعربية ไทยไทย LatinaLatina हिन्दीहिन्दी Bahasa IndonesiaBahasa Indonesia Bahasa MelayuBahasa Melayu
Reply

User Tag List



 

iPad Videos Portal Autoscroll

VietBF Music Portal Autoscroll

iPad News Portal Autoscroll

VietBF Homepage Autoscroll

VietBF Video Autoscroll Portal

USA News Autoscroll Portall

VietBF WORLD Autoscroll Portal

Video Classic Master Page

Super Widescreen

iPad World Portal Autoscroll

iPad USA Portal Autoscroll

Phim Bộ Online
Lên đầu Xuống dưới Lên 3000px Xuống 3000px

Tin nóng nhất 24h qua

Tin nóng nhất 3 ngày qua

Tin nóng nhất 7 ngày qua

Tin nóng nhất 30 ngày qua

Albums

Total Videos Online

Tranh luận sôi nổi nhất 7 ngày qua

Tranh luận sôi nổi nhất 14 ngày qua

Tranh luận sôi nổi nhất 30 ngày qua

10.000 Tin mới nhất

Tin tức Hoa Kỳ

Tin tức Công nghệ
Lên đầu Xuống dưới Lên 3000px Xuống 3000px

Duo Series Movies Portal

Duo Music Portal

Phim Bộ

Tỷ Giá

Thời Tiết

Tin Nóng Nhất 50h

Super News

School Cooking Traveling Portal

Enter Portal

Series Shows and Movies Online

Home Classic Master Page

Donation Ủng hộ $3 cho VietBF
Lên đầu Xuống dưới Lên 3000px Xuống 3000px
Diễn Đàn Người Việt Hải Ngoại. Tự do ngôn luận, an toàn và uy tín. Vì một tương lai tươi đẹp cho các thế hệ Việt Nam hãy ghé thăm chúng tôi, hãy tâm sự với chúng tôi mỗi ngày, mỗi giờ và mỗi giây phút có thể. VietBF.Com Xin cám ơn các bạn, chúc tất cả các bạn vui vẻ và gặp nhiều may mắn.
Welcome to Vietnamese American Community, Vietnamese European, Canadian, Australian Forum, Vietnamese Overseas Forum. Freedom of speech, safety and prestige. For a beautiful future for Vietnamese generations, please visit us, talk to us every day, every hour and every moment possible. VietBF.Com Thank you all and good luck.

Lên đầu Xuống dưới Lên 3000px Xuống 3000px

All times are GMT. The time now is 04:31.
VietBF - Vietnamese Best Forum Copyright ©2005 - 2026
User Alert System provided by Advanced User Tagging (Pro) - vBulletin Mods & Addons Copyright © 2026 DragonByte Technologies Ltd.
Log Out Unregistered

Page generated in 0.10256 seconds with 15 queries