HOME-Au
HOME-Au
24h
24h
USA
USA
GOP
GOP
Phim Bộ
Phim Bộ
Videoauto
VIDEO-Au
Donation
Donation
News Book
News Book
News 50
News 50
worldautoscroll
WORLD-Au
Breaking
Breaking
 

Go Back   VietBF > Other > Auto News |Tin Ô Tô


Reply
Thread Tools
 
 
  #1  
Old  Default Độc đáo hệ thống an toàn mới trên xe Mercedes-Benz
Hãng xe Đức Mercedes-Benz vừa đăng ký sở hữu trí tuệ về công nghệ an toàn mới tại châu Âu.

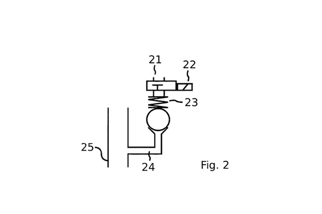
Trong một đăng ký sở hữu trí tuệ mới đây vừa được Daimler AG gửi lên các cơ quan chức năng tại châu Âu, một công nghệ mới được thiết kế giúp hãm chiếc xe khi hệ thống phanh gặp trục trặc. Công nghệ này được miêu tả trong bản thiết kế là sẽ đóng vai trò hỗ trợ người lái với van đặt tại bánh xe có thể tự động xả hơi trong lốp. Ở các trường hợp phanh khẩn cấp hoặc hỏng phanh, hệ thống sẽ xì lốp hoàn toàn để giúp chiếc xe giảm tốc độ.

Hệ thống sẽ gồm một bộ điều khiển trung tâm và thiết bị với khả năng xả khí trong bánh xe. Cả hai sẽ đi vào hoạt động nếu hệ thống phanh bị lỗi hoặc hỏng hoàn toàn. Trong bản thiết kế, hệ thống này được thiết kế dành riêng cho xe điện và hybrid vì Mercedes-Benz đã hướng đến việc loại bỏ hoàn toàn xe dùng động cơ đốt trong trong tương lai gần.


Lý do mà Daimler phải phát minh ra hệ thống hỗ trợ người lái này là vì những chiếc xe điện, xe lai hiện đại thường sử dụng đến hai hệ thống phanh, một là phanh cơ khí truyền thống và một là phanh tái sinh bằng điện. Hệ thống phanh tái sinh sẽ được sử dụng khi người lái phanh nhẹ để hồi phục năng lượng cho viên pin. Một khi pin đã được sạc đầy hoặc người lái phanh mạnh, hệ thống phanh cơ khí mới được sử dụng.

Vì tích hợp đến hai hệ thống phanh phức tạp trên cùng một chiếc xe nên sẽ rườm rà hơn và hãng sản xuất phải sử dụng công nghệ brake-by-wire. Công nghệ này loại bỏ đường ống dầu phanh chạy quanh xe, thay vào đó là cảm biến vị trí và áp lực đặt tại chân phanh, đo lực phanh và độ sâu để truyền dữ liệu dạng điện tử đến hệ thống phanh xử lý và đưa ra mức áp suất phanh cần thiết. Cũng vì lý do dùng dữ liệu số hóa nên các hệ thống dễ gặp lỗi và hư hỏng, đặc biệt là một hệ thống quan trọng như phanh lại càng phải có biện pháp phòng hờ.


Hệ thống hỗ trợ mới của Daimler sẽ chỉ được kích hoạt khi bộ chấp hành tổng bị lỗi hoặc hư hỏng hoàn toàn. Khi đó, bàn đạp phanh sẽ được nối đến hệ thống này, người lái đạp phanh, hệ thống sẽ xả bớt khí ở bánh xe để làm cho chúng xẹp hoàn toàn. Vậy việc làm xì lốp giúp ích gì?

Chúng ta thường hai bơm căng lốp để chạy xe tiết kiệm hơn do bề mặt tiếp xúc giữa bánh xe và mặt đường giảm. Ở đây thì ngược lại, bề mặt lốp sẽ tiếp xúc nhiều hơn với mặt đường khi lốp bị xì, tăng lực cản và từ từ làm chiếc xe chậm lại. Tuy nhiên, nếu bánh xe bị xì quá mức có thể làm lốp bung ra khỏi mâm xe, gây nguy hiểm.

Là một nhà sản xuất, Daimler đã phải tính toán tất cả các yếu tố của bất kỳ công nghệ nào trước khi nộp bằng sáng chế. Ở hệ thống này, tất cả các bánh xe sẽ được tích hợp van xả khí. Máy tính trên xe sẽ bắt đầu xả khí từ những bánh xe có áp suất thấp nhất. Sau khi xả khí đến mức an toàn, máy tính sẽ giới hạn tốc độ xe và cảnh báo người lái về vấn đề mà chiếc xe đang gặp phải.




Ngoài ra, hệ thống này còn có thể bơm lại lốp xe. Bên cạnh van xả khí, hệ thống còn được tích hợp với máy bơm và cảm biến áp suất để theo dõi và tự động bơm lốp xe đến mức cần thiết. Tuy nhiên, đây không phải lần đầu tiên một mẫu xe của Daimler có được hệ thống này. Chiếc xe bán tải Mercedes-AMG G63 6x6 trước đây đã có hệ thống xả, bơm lốp tích hợp trên xe nhưng nó lại quá lớn để có thể mang lên những chiếc sedan sang trọng.

Đến nay, hệ thống mới được nộp bằng sáng chế của Daimler mới được hoàn thiện với kích thước nhỏ hơn nhiều và phù hợp với nhiều dòng xe hơn. Dự kiến hệ thống này sẽ được sử dụng trên những mẫu xe điện thương mại hạng sang trong tương lai và là tùy chọn dành cho các dòng xe phổ thông.
Dịch trang: EnglishEnglish DeutschDeutsch FrançaisFrançais EspañolEspañol ItalianoItaliano PortuguêsPortuguês
NorskNorsk NederlandsNederlands DanskDansk SuomiSuomi PolskiPolski ČeštinaČeština РусскийРусский
日本語日本語 한국어한국어 中文(简体)中文(简体) 中文(繁體)中文(繁體) MagyarMagyar TürkçeTürkçe
العربيةالعربية ไทยไทย LatinaLatina हिन्दीहिन्दी Bahasa IndonesiaBahasa Indonesia Bahasa MelayuBahasa Melayu
VIETBF Hybrid Community Content Hub

HOT NEWS 24h

HOT 3 Days

NEWS 3 Days

HOT 7 Days

NEWS 7 Days

HOME

Breaking News

VietOversea

World News

Business News

Car News

Computer News

Game News

USA News

Mobile News

Music News

Movies News

History

Thơ Ca

Sport News

Stranger Stories

Comedy Stories

Cooking Chat

Nice Pictures

Fashion

School

Travelling

Funny Videos

Canada Tin Hay

USA Tin Hay

VietBF Homepage Autoscroll

VietBF Video Autoscroll Portal

Video Classic Master

iPad News Portal

VietBF iPad Music Portal

Tin nóng nhất 50h qua

Phim Bộ Online

iMusic Pro Max



miro1510
R9 Tuyệt Đỉnh Tôn Sư
Release: 11-30-2021
Reputation: 13837


Profile:
Join Date: Oct 2014
Posts: 47,191
Last Update: None Rating: None
Attached Thumbnails
Click image for larger version

Name:	334.1.jpg
Views:	0
Size:	283.2 KB
ID:	1935152   Click image for larger version

Name:	334.2.jpg
Views:	0
Size:	162.7 KB
ID:	1935153   Click image for larger version

Name:	334.3.jpg
Views:	0
Size:	45.7 KB
ID:	1935154  

Click image for larger version

Name:	334.4.jpg
Views:	0
Size:	26.7 KB
ID:	1935155  
miro1510_is_offline
Thanks: 9
Thanked 2,096 Times in 1,935 Posts
Mentioned: 3 Post(s)
Tagged: 0 Thread(s)
Quoted: 8 Post(s)
Rep Power: 59
miro1510 Reputation Uy Tín Level 6
miro1510 Reputation Uy Tín Level 6miro1510 Reputation Uy Tín Level 6miro1510 Reputation Uy Tín Level 6miro1510 Reputation Uy Tín Level 6miro1510 Reputation Uy Tín Level 6miro1510 Reputation Uy Tín Level 6miro1510 Reputation Uy Tín Level 6miro1510 Reputation Uy Tín Level 6miro1510 Reputation Uy Tín Level 6miro1510 Reputation Uy Tín Level 6miro1510 Reputation Uy Tín Level 6miro1510 Reputation Uy Tín Level 6miro1510 Reputation Uy Tín Level 6miro1510 Reputation Uy Tín Level 6miro1510 Reputation Uy Tín Level 6miro1510 Reputation Uy Tín Level 6
Dịch trang: EnglishEnglish DeutschDeutsch FrançaisFrançais EspañolEspañol ItalianoItaliano PortuguêsPortuguês
NorskNorsk NederlandsNederlands DanskDansk SuomiSuomi PolskiPolski ČeštinaČeština РусскийРусский
日本語日本語 한국어한국어 中文(简体)中文(简体) 中文(繁體)中文(繁體) MagyarMagyar TürkçeTürkçe
العربيةالعربية ไทยไทย LatinaLatina हिन्दीहिन्दी Bahasa IndonesiaBahasa Indonesia Bahasa MelayuBahasa Melayu
Reply

User Tag List


Mẹ nhà báo chống Cộng "Cô Gái Đồ Long" qua đời Số phận "16 tấn vàng của TT Thiệu" và 40 tấn vàng của VNCH Nam ca sĩ Hải Ngoại bất tỉnh nhân sự, sắp qua đời
Eo biển Hormuz lại “tắt lửa”: Israel đánh Lebanon, Iran lập tức siết van dầu – Thỏa thuận ngừng bắn Mỹ–Iran đứng bên bờ sụp đổ Israel không dừng tay: Vì sao Hezbollah vẫn là “mục tiêu sống còn” dù Mỹ–Iran nói chuyện hòa bình? Trump đặt “lằn ranh đỏ” uranium: Đàm phán Mỹ – Iran bước vào giai đoạn quyết định, Trung Đông căng như dây đàn
Iran lại đóng eo Hormuz, dầu mỏ nghẹt thở: Trung Đông bước vào ván cờ quyền lực mới đầy bất trắc Eo biển Hormuz mở lại sau lệnh ngừng bắn: Mỹ tuyên bố chiến thắng, nhưng Trung Đông vẫn như “lửa âm ỉ dưới tro tàn” Ngừng bắn 14 ngày Mỹ – Iran: Khoảng lặng trước bão
Úc từ chối gửi tàu tới eo biển Hormuz, đồng minh Mỹ bắt đầu do dự trước lời kêu gọi của Trump Ông Trump phàn nàn, NATO, Liên minh mà chẳng chịu giúp gì, kêu gọi cả Trung Quốc tham gia mở lại eo biển Hormuz giữa khủng hoảng dầu mỏ toàn cầu Sáu quân nhân Không quân Mỹ thiệt mạng trong vụ rơi máy bay KC-135 tại Iraq – những con người phía sau một nhiệm vụ chiến tranh
Trump nghi ngờ Giáo Chủ Iran Mojtaba Khamenei đã chết, Tehran khẳng định “vẫn khỏe mạnh” Formula 1: hai chặng Bahrain và Saudi Arabia bị hủy trong tháng 4, lịch đua thế giới đảo lộn Israel tuyên bố hạ sát hai tướng tình báo Iran, 400 đợt không kích dội xuống Tehran và miền tây Iran
Drone tự sát đánh vào Đại sứ quán Mỹ tại Baghdad: chiến tranh Trung Đông lan tới “Vùng Xanh”, khói lửa bốc lên giữa thủ đô Iraq Iran đánh cảng dầu của UAE, cảnh cáo Mỹ sau vụ tổng oanh tạc đảo Kharg Mỹ tổng không kích Kharg, dọn đường cho khả năng đổ bộ, Iran đứng trước kịch bản “đốt đảo” nếu thất thủ
Cuộc đấu trí giữa Lầu Năm Góc và các ông lớn AI Từ quan chức Đảng đến người kéo mì ở New York Bóng Ma Epstein Trở Lại: Bill Clinton bị thẩm vấn
Hillary Clinton đối mặt hồ sơ Epstein Chủ tịch Thành Phố Hà Nội bị mất chức Hàn Cộng đe doạ bắn tên lửa nguyên tử
Cựu phi công Mỹ bị cáo buộc huấn luyện không quân Trung Quốc 200 vạn binh Hoa Kỳ sẵn sàng đánh phủ đầu Iran Cuộc đại thanh trừng trong quân đội Trung Quốc sâu đến mức nào?

 

iPad Videos Portal Autoscroll

VietBF Music Portal Autoscroll

iPad News Portal Autoscroll

VietBF Homepage Autoscroll

VietBF Video Autoscroll Portal

USA News Autoscroll Portall

VietBF WORLD Autoscroll Portal

Video Classic Master Page

Super Widescreen

iPad World Portal Autoscroll

iPad USA Portal Autoscroll

Phim Bộ Online
Lên đầu Xuống dưới Lên 3000px Xuống 3000px

Tin nóng nhất 24h qua

Tin nóng nhất 3 ngày qua

Tin nóng nhất 7 ngày qua

Tin nóng nhất 30 ngày qua

Albums

Total Videos Online

Tranh luận sôi nổi nhất 7 ngày qua

Tranh luận sôi nổi nhất 14 ngày qua

Tranh luận sôi nổi nhất 30 ngày qua

10.000 Tin mới nhất

Tin tức Hoa Kỳ

Tin tức Công nghệ
Lên đầu Xuống dưới Lên 3000px Xuống 3000px

Duo Series Movies Portal

Duo Music Portal

Phim Bộ

Tỷ Giá

Thời Tiết

Tin Nóng Nhất 50h

Super News

School Cooking Traveling Portal

Enter Portal

Series Shows and Movies Online

Home Classic Master Page

Donation Ủng hộ $3 cho VietBF
Lên đầu Xuống dưới Lên 3000px Xuống 3000px
Diễn Đàn Người Việt Hải Ngoại. Tự do ngôn luận, an toàn và uy tín. Vì một tương lai tươi đẹp cho các thế hệ Việt Nam hãy ghé thăm chúng tôi, hãy tâm sự với chúng tôi mỗi ngày, mỗi giờ và mỗi giây phút có thể. VietBF.Com Xin cám ơn các bạn, chúc tất cả các bạn vui vẻ và gặp nhiều may mắn.
Welcome to Vietnamese American Community, Vietnamese European, Canadian, Australian Forum, Vietnamese Overseas Forum. Freedom of speech, safety and prestige. For a beautiful future for Vietnamese generations, please visit us, talk to us every day, every hour and every moment possible. VietBF.Com Thank you all and good luck.

Lên đầu Xuống dưới Lên 3000px Xuống 3000px

All times are GMT. The time now is 02:39.
VietBF - Vietnamese Best Forum Copyright ©2005 - 2026
User Alert System provided by Advanced User Tagging (Pro) - vBulletin Mods & Addons Copyright © 2026 DragonByte Technologies Ltd.
Log Out Unregistered

Page generated in 0.11873 seconds with 15 queries