HOME-Au
HOME-Au
24h
24h
USA
USA
GOP
GOP
Phim Bộ
Phim Bộ
Videoauto
VIDEO-Au
Donation
Donation
News Book
News Book
News 50
News 50
worldautoscroll
WORLD-Au
Breaking
Breaking
 

Go Back   VietBF > Other > Mobile News|Tin Di Động


Reply
Thread Tools
 
 
  #1  
Old  Default Trong tương lai, ở đâu có iPhone ở đó có sóng điện thoại mạnh
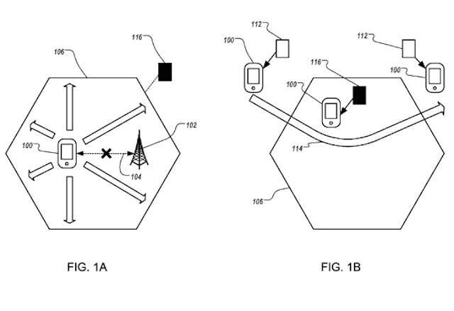
Bạn đang đi trên đường và nói chuyện điện thoại với ai đó thì đột nhiên các cuộc gọi bị mất hay bị rớt mạng. Đây có lẽ là một trong những điều gây phiền toái nhất cho người sử dụng điện thoại nhưng Apple sắp có một giải pháp để đảm bảo rằng tình trạng này không bao giờ xảy ra nữa.

Một bằng sáng chế mới của Táo khuyết có tên gọi 'hồ sơ địa điểm' dành cho mạng lưới theo dõi các điểm chết được công bố ngày 11/11. Bằng sáng chế này mô tả về một phần mềm có thể tồn tại như một ứng dụng trên điện thoại hoặc một dịch vụ làm việc dưới dạng nền. Nhưng dù bằng cách nào, nó sẽ ghi nhận khi bạn gặp vấn đề với một cuộc gọi hoặc mất kết nối ngẫu nhiên, sau đó đánh dấu các khu vực này. Lần sau, khi bạn vào khu vực được đánh dấu điện thoại của bạn sẽ cảnh báo cho bạn.


Với hàng triệu chiếc iPhone có khả năng tìm ra các điểm chết của mạng điện thoại như trên, Apple có thể xây dựng một kho dữ liệu về các điểm mất mạng. Tuy nhiên 'nhà táo' cũng giải thích rằng thông tin của người dùng sẽ được ẩn danh và thu thập cùng với những người khác để xác định các điểm chết tồi tệ nhất. Từ đó, công ty có thể chia sẻ thông tin đó với các nhà cung cấp mạng để họ khắc phục vấn đề.


Các bằng sáng chế cũng cho thấy rằng bạn có thể xem lịch sử rớt mạng trên thiết bị giúp bạn tránh được các điểm chết trong tương lai. Tuy nhiên, mục đích chính của tính năng này dường như là để thu thập dữ liệu từ nhiều thiết bị để cung cấp một giải pháp lâu dài thay vì sửa chữa một trường hợp cụ thể nào.

Hy vọng rằng bằng sáng chế này có áp dụng vào thực tế sớm để hạn chế những vụ rớt cuộc gọi hay mất sóng.

Thegioididong
Dịch trang: EnglishEnglish DeutschDeutsch FrançaisFrançais EspañolEspañol ItalianoItaliano PortuguêsPortuguês
NorskNorsk NederlandsNederlands DanskDansk SuomiSuomi PolskiPolski ČeštinaČeština РусскийРусский
日本語日本語 한국어한국어 中文(简体)中文(简体) 中文(繁體)中文(繁體) MagyarMagyar TürkçeTürkçe
العربيةالعربية ไทยไทย LatinaLatina हिन्दीहिन्दी Bahasa IndonesiaBahasa Indonesia Bahasa MelayuBahasa Melayu
VIETBF Hybrid Community Content Hub

HOT NEWS 24h

HOT 3 Days

NEWS 3 Days

HOT 7 Days

NEWS 7 Days

HOME

Breaking News

VietOversea

World News

Business News

Car News

Computer News

Game News

USA News

Mobile News

Music News

Movies News

History

Thơ Ca

Sport News

Stranger Stories

Comedy Stories

Cooking Chat

Nice Pictures

Fashion

School

Travelling

Funny Videos

Canada Tin Hay

USA Tin Hay

VietBF Homepage Autoscroll

VietBF Video Autoscroll Portal

Video Classic Master

iPad News Portal

VietBF iPad Music Portal

Tin nóng nhất 50h qua

Phim Bộ Online

Phim Bộ



chickie
R6 Đệ Nhất Cao Thủ
Release: 11-12-2014
Reputation: 207


Profile:
Join Date: Jun 2014
Posts: 2,296
Last Update: None Rating: None
Attached Thumbnails
Click image for larger version

Name:	apple-dead-spots-1.jpg
Views:	0
Size:	34.0 KB
ID:	687604   Click image for larger version

Name:	apple-dead-spots-2.jpg
Views:	0
Size:	46.4 KB
ID:	687605  
chickie_is_offline
Thanks: 315
Thanked 31 Times in 27 Posts
Mentioned: 0 Post(s)
Tagged: 0 Thread(s)
Quoted: 22 Post(s)
Rep Power: 14
chickie Reputation Uy Tín Level 1chickie Reputation Uy Tín Level 1chickie Reputation Uy Tín Level 1
Dịch trang: EnglishEnglish DeutschDeutsch FrançaisFrançais EspañolEspañol ItalianoItaliano PortuguêsPortuguês
NorskNorsk NederlandsNederlands DanskDansk SuomiSuomi PolskiPolski ČeštinaČeština РусскийРусский
日本語日本語 한국어한국어 中文(简体)中文(简体) 中文(繁體)中文(繁體) MagyarMagyar TürkçeTürkçe
العربيةالعربية ไทยไทย LatinaLatina हिन्दीहिन्दी Bahasa IndonesiaBahasa Indonesia Bahasa MelayuBahasa Melayu
Reply

User Tag List



 

iPad Videos Portal Autoscroll

VietBF Music Portal Autoscroll

iPad News Portal Autoscroll

VietBF Homepage Autoscroll

VietBF Video Autoscroll Portal

USA News Autoscroll Portall

VietBF WORLD Autoscroll Portal

Video Classic Master Page

Super Widescreen

iPad World Portal Autoscroll

iPad USA Portal Autoscroll

Phim Bộ Online
Lên đầu Xuống dưới Lên 3000px Xuống 3000px

Tin nóng nhất 24h qua

Tin nóng nhất 3 ngày qua

Tin nóng nhất 7 ngày qua

Tin nóng nhất 30 ngày qua

Albums

Total Videos Online

Tranh luận sôi nổi nhất 7 ngày qua

Tranh luận sôi nổi nhất 14 ngày qua

Tranh luận sôi nổi nhất 30 ngày qua

10.000 Tin mới nhất

Tin tức Hoa Kỳ

Tin tức Công nghệ
Lên đầu Xuống dưới Lên 3000px Xuống 3000px

Duo Series Movies Portal

Duo Music Portal

Phim Bộ

Tỷ Giá

Thời Tiết

Tin Nóng Nhất 50h

Super News

School Cooking Traveling Portal

Enter Portal

Series Shows and Movies Online

Home Classic Master Page

Donation Ủng hộ $3 cho VietBF
Lên đầu Xuống dưới Lên 3000px Xuống 3000px
Diễn Đàn Người Việt Hải Ngoại. Tự do ngôn luận, an toàn và uy tín. Vì một tương lai tươi đẹp cho các thế hệ Việt Nam hãy ghé thăm chúng tôi, hãy tâm sự với chúng tôi mỗi ngày, mỗi giờ và mỗi giây phút có thể. VietBF.Com Xin cám ơn các bạn, chúc tất cả các bạn vui vẻ và gặp nhiều may mắn.
Welcome to Vietnamese American Community, Vietnamese European, Canadian, Australian Forum, Vietnamese Overseas Forum. Freedom of speech, safety and prestige. For a beautiful future for Vietnamese generations, please visit us, talk to us every day, every hour and every moment possible. VietBF.Com Thank you all and good luck.

Lên đầu Xuống dưới Lên 3000px Xuống 3000px

All times are GMT. The time now is 13:58.
VietBF - Vietnamese Best Forum Copyright ©2005 - 2026
User Alert System provided by Advanced User Tagging (Pro) - vBulletin Mods & Addons Copyright © 2026 DragonByte Technologies Ltd.
Log Out Unregistered

Page generated in 0.11124 seconds with 15 queries