HOME-Au
HOME-Au
24h
24h
USA
USA
GOP
GOP
Phim Bộ
Phim Bộ
Videoauto
VIDEO-Au
Donation
Donation
News Book
News Book
News 50
News 50
worldautoscroll
WORLD-Au
Breaking
Breaking
 

Go Back   VietBF > Other > Mobile News|Tin Di Động


Reply
Thread Tools
 
 
  #1  
Old  Default Nhìn camera iPhone 12, chán luôn iPhone 11?
Một cặp bằng sáng chế mới của Apple cho thấy, iPhone trong tương lai, có thể là iPhone 12 ra mắt năm tới, sẽ được trang bị camera với ống kính "siêu khủng" và cho những bức hình siêu đẹp.

Đọ pin iPhone 11 Pro Max với Galaxy Note 10+, flagship nào bị đánh bại?
Samsung sẽ bỏ Galaxy Fold và Galaxy Note để ra dòng flagship mới?
Theo 2 bằng sáng chế được Văn phòng Bằng sáng chế và Thương hiệu Hoa Kỳ đã cấp cho Táo khuyết, Apple có thể sẽ trang bị ống kính tele tiềm vọng cho iPhone trong tương lai.

Điều này nghe có vẻ quen thuộc giống như cách mà Huawei đã trang bị cho P30 Pro ống kính tele 5x, bằng cách xếp các các ống kính theo chiều dọc trong thân smartphone và sử dụng gương để quay góc ngắm ra bên ngoài. Đây là lần đầu tiên chúng ta thấy Apple chạy đua theo Huawei.


Bằng sáng chế mới của Apple
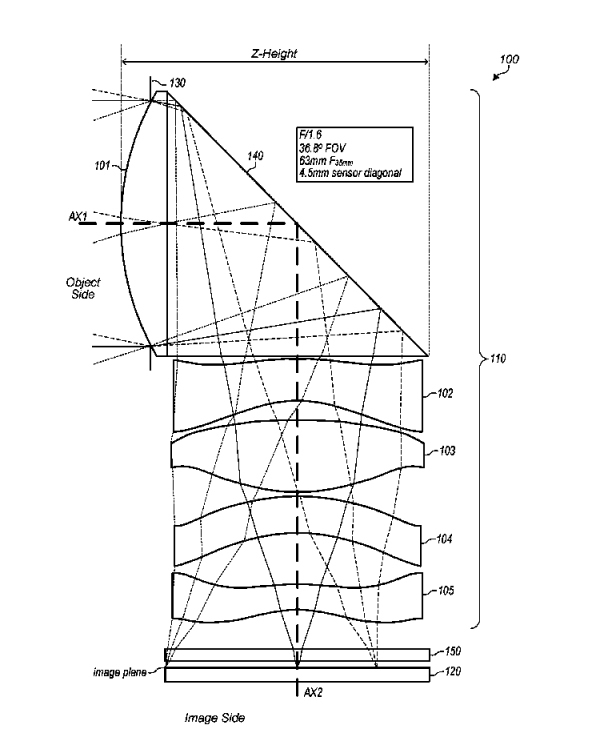
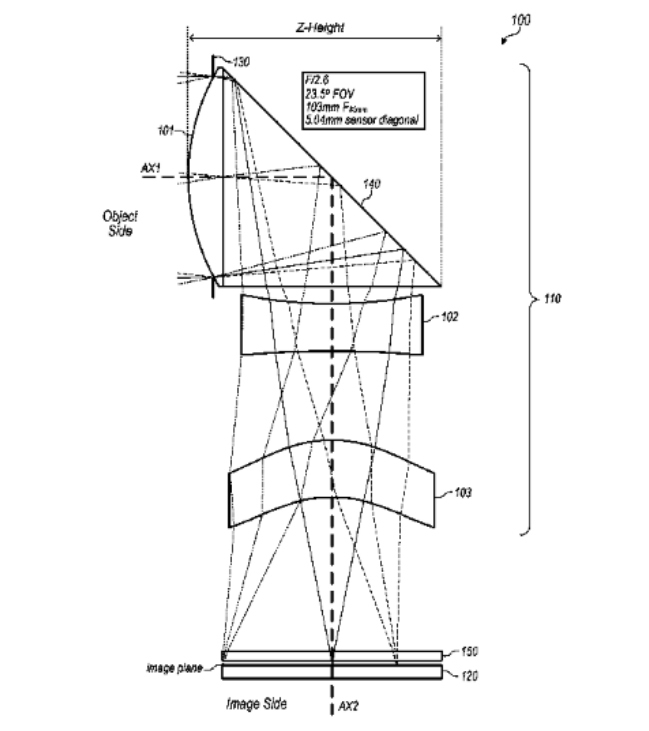
Cụ thể, bằng sáng chế thứ nhất mô tả hệ thống gồm 5 thấu kính gấp với 5 thấu kính khúc xạ. Bằng sáng chế thứ hai mô tả ống kính gồm 3 thấu kính khúc xạ.

Với phiên bản 5 thấu kính sẽ tạo ra ống kính 35mm, có độ dài tiêu cự tương đương 50 - 85mm phù hợp với ống kính góc rộng. Còn phiên bản 3 thấu kính sẽ tương đương với ống kính tele 35mm có độ dài tiêu cự từ 80 - 200mm. Nói cách khác, Apple có thể sử dụng thiết lập thấu kính xếp chồng ngang với gương như vậy để tạo ra hệ thống camera 'khủng' trên iPhone mà không làm mô-đun máy ảnh lồi ra thêm.


Bằng sáng chế mô tả ống kính gồm 3 thấu kính khúc xạ
Đây có thể được xem là một nỗ lực của Apple trong việc cải thiện khả năng chụp ảnh của những chiếc iPhone thế hệ tiếp theo.


Hệ thống camera trên loạt iPhone 11, iPhone 11 Pro và 11 Pro Max
Nhưng trên thực tế Apple có làm điều đó với iPhone mới, thậm chí gần nhất là iPhone 12 ra mắt năm sau, hay không thì còn tùy thuộc vào chiến lược phát triển sản phẩm của Táo khuyết.

VietBF © sưu tầm
Dịch trang: EnglishEnglish DeutschDeutsch FrançaisFrançais EspañolEspañol ItalianoItaliano PortuguêsPortuguês
NorskNorsk NederlandsNederlands DanskDansk SuomiSuomi PolskiPolski ČeštinaČeština РусскийРусский
日本語日本語 한국어한국어 中文(简体)中文(简体) 中文(繁體)中文(繁體) MagyarMagyar TürkçeTürkçe
العربيةالعربية ไทยไทย LatinaLatina हिन्दीहिन्दी Bahasa IndonesiaBahasa Indonesia Bahasa MelayuBahasa Melayu
VIETBF Hybrid Community Content Hub

HOT NEWS 24h

HOT 3 Days

NEWS 3 Days

HOT 7 Days

NEWS 7 Days

HOME

Breaking News

VietOversea

World News

Business News

Car News

Computer News

Game News

USA News

Mobile News

Music News

Movies News

History

Thơ Ca

Sport News

Stranger Stories

Comedy Stories

Cooking Chat

Nice Pictures

Fashion

School

Travelling

Funny Videos

Canada Tin Hay

USA Tin Hay

VietBF Homepage Autoscroll

VietBF Video Autoscroll Portal

Video Classic Master

iPad News Portal

VietBF iPad Music Portal

Tin nóng nhất 50h qua

Phim Bộ Online

Phim Bộ



therealrtz
R10 Vô Địch Thiên Hạ
Release: 10-11-2019
Reputation: 234750


Profile:
Join Date: Nov 2014
Posts: 93,771
Last Update: None Rating: None
Attached Thumbnails
Click image for larger version

Name:	43.1.jpg
Views:	0
Size:	90.9 KB
ID:	1466736   Click image for larger version

Name:	43.2.jpg
Views:	0
Size:	76.7 KB
ID:	1466737   Click image for larger version

Name:	43.3.jpg
Views:	0
Size:	194.9 KB
ID:	1466738  

Attached Images
 
therealrtz_is_offline
Thanks: 28
Thanked 6,855 Times in 6,119 Posts
Mentioned: 4 Post(s)
Tagged: 0 Thread(s)
Quoted: 34 Post(s)
Rep Power: 116
therealrtz Reputation Uy Tín Level 10therealrtz Reputation Uy Tín Level 10therealrtz Reputation Uy Tín Level 10therealrtz Reputation Uy Tín Level 10therealrtz Reputation Uy Tín Level 10therealrtz Reputation Uy Tín Level 10therealrtz Reputation Uy Tín Level 10
therealrtz Reputation Uy Tín Level 10therealrtz Reputation Uy Tín Level 10therealrtz Reputation Uy Tín Level 10therealrtz Reputation Uy Tín Level 10therealrtz Reputation Uy Tín Level 10therealrtz Reputation Uy Tín Level 10therealrtz Reputation Uy Tín Level 10therealrtz Reputation Uy Tín Level 10therealrtz Reputation Uy Tín Level 10therealrtz Reputation Uy Tín Level 10therealrtz Reputation Uy Tín Level 10therealrtz Reputation Uy Tín Level 10therealrtz Reputation Uy Tín Level 10therealrtz Reputation Uy Tín Level 10therealrtz Reputation Uy Tín Level 10therealrtz Reputation Uy Tín Level 10therealrtz Reputation Uy Tín Level 10therealrtz Reputation Uy Tín Level 10
Dịch trang: EnglishEnglish DeutschDeutsch FrançaisFrançais EspañolEspañol ItalianoItaliano PortuguêsPortuguês
NorskNorsk NederlandsNederlands DanskDansk SuomiSuomi PolskiPolski ČeštinaČeština РусскийРусский
日本語日本語 한국어한국어 中文(简体)中文(简体) 中文(繁體)中文(繁體) MagyarMagyar TürkçeTürkçe
العربيةالعربية ไทยไทย LatinaLatina हिन्दीहिन्दी Bahasa IndonesiaBahasa Indonesia Bahasa MelayuBahasa Melayu
Reply

User Tag List



 

iPad Videos Portal Autoscroll

VietBF Music Portal Autoscroll

iPad News Portal Autoscroll

VietBF Homepage Autoscroll

VietBF Video Autoscroll Portal

USA News Autoscroll Portall

VietBF WORLD Autoscroll Portal

Video Classic Master Page

Super Widescreen

iPad World Portal Autoscroll

iPad USA Portal Autoscroll

Phim Bộ Online
Lên đầu Xuống dưới Lên 3000px Xuống 3000px

Tin nóng nhất 24h qua

Tin nóng nhất 3 ngày qua

Tin nóng nhất 7 ngày qua

Tin nóng nhất 30 ngày qua

Albums

Total Videos Online

Tranh luận sôi nổi nhất 7 ngày qua

Tranh luận sôi nổi nhất 14 ngày qua

Tranh luận sôi nổi nhất 30 ngày qua

10.000 Tin mới nhất

Tin tức Hoa Kỳ

Tin tức Công nghệ
Lên đầu Xuống dưới Lên 3000px Xuống 3000px

Duo Series Movies Portal

Duo Music Portal

Phim Bộ

Tỷ Giá

Thời Tiết

Tin Nóng Nhất 50h

Super News

School Cooking Traveling Portal

Enter Portal

Series Shows and Movies Online

Home Classic Master Page

Donation Ủng hộ $3 cho VietBF
Lên đầu Xuống dưới Lên 3000px Xuống 3000px
Diễn Đàn Người Việt Hải Ngoại. Tự do ngôn luận, an toàn và uy tín. Vì một tương lai tươi đẹp cho các thế hệ Việt Nam hãy ghé thăm chúng tôi, hãy tâm sự với chúng tôi mỗi ngày, mỗi giờ và mỗi giây phút có thể. VietBF.Com Xin cám ơn các bạn, chúc tất cả các bạn vui vẻ và gặp nhiều may mắn.
Welcome to Vietnamese American Community, Vietnamese European, Canadian, Australian Forum, Vietnamese Overseas Forum. Freedom of speech, safety and prestige. For a beautiful future for Vietnamese generations, please visit us, talk to us every day, every hour and every moment possible. VietBF.Com Thank you all and good luck.

Lên đầu Xuống dưới Lên 3000px Xuống 3000px

All times are GMT. The time now is 19:32.
VietBF - Vietnamese Best Forum Copyright ©2005 - 2026
User Alert System provided by Advanced User Tagging (Pro) - vBulletin Mods & Addons Copyright © 2026 DragonByte Technologies Ltd.
Log Out Unregistered

Page generated in 0.11228 seconds with 15 queries