Theo bằng sáng chế, Apple đang phát triển hệ thống cảm biến cho phép iPhone phân biệt chính xác giữa ngón tay và nước đọng trên màn hình.
Trong bằng sáng chế mã 2020/0064952 đăng ký với Cơ quan sáng chế và thương hiệu Mỹ (USPTO), Apple mô tả cơ chế xác định lực chính xác trên màn hình iPhone tiếp theo thông qua hệ thống cảm biến tích hợp bên dưới.

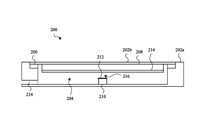
Cảm biến lực nằm dưới cho phép màn hình cảm ứng phân biệt giữa nước và ngón tay. Ảnh: USPTO.
Smartphone hiện nay sẽ bị loạn cảm ứng khi dính nước mưa hay mồ hôi tay, do màn hình không thể phân biệt áp lực của nước và ngón tay người dùng. Bằng sáng chế của Apple đề cập đến "chìm trong chất lỏng" như một gợi ý về thế hệ iPhone trang bị màn hình có khả năng hoạt động bình thường dưới nước.
Các mẫu iPhone và Apple Watch đời mới đã được công ty nâng cấp đáng kể khả năng chống nước. Tuy nhiên, việc bổ sung hệ thống cảm biến lực cho phép người dùng sử dụng iPhone khi bơi hoặc tắm, mà không bọc trong cần túi chân không.
Apple chưa công bố kế hoạch giới thiệu công nghệ này trên dòng iPhone 12, iPad 2020 hay Apple Watch Series 6.
VietBF@sưu tập