HOME-Au
HOME-Au
24h
24h
USA
USA
GOP
GOP
Phim Bộ
Phim Bộ
Videoauto
VIDEO-Au
Home Classic
Home Classic
Donation
Donation
News Book
News Book
News 50
News 50
worldautoscroll
WORLD-Au
Breaking
Breaking
 

Go Back   VietBF > Other News|Tin Khác > Mobile News|Tin Di Động


Reply
 
Thread Tools
  #1  
Old  Default Apple cân nhắc sản xuất iPhone màn h́nh cuộn
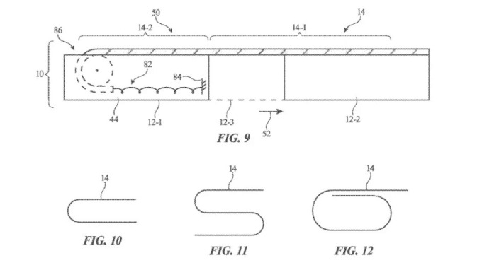
Apple đă nộp hồ sơ xin cấp bằng sáng chế liên quan đến một mẫu smartphone có màn h́nh cuộn lại.Mới đây, Apple đă nộp hồ sơ lên Văn pḥng Sáng chế và Nhăn hiệu Mỹ (USPTO) của Apple có tên "Thiết bị điện tử với màn h́nh có thể mở rộng bằng cơ chế trượt". Phần mô tả có bản vẽ mặt cắt một chiếc điện thoại với con lăn cố định bên trong. Màn h́nh sẽ uốn quanh bộ phận này và giấu dưới dạng cong h́nh chữ U, chữ S hoặc cuộn tṛn.

Theo đó, một phần màn h́nh dẻo có thể ẩn trong thân máy khi chưa mở rộng. Ở trạng thái này, màn h́nh có thể có một hoặc nhiều phần uốn cong. Hồ sơ thông tin sáng chế iPhone màn h́nh cuộn được Apple nộp lần đầu tiên vào tháng 6 năm ngoái nhưng tới nay mới cập nhật chi tiết thông tin. BRG cho biết, việc xin cấp bằng sáng chế cho thấy nhiều khả năng Apple đang cân nhắc sản xuất iPhone màn h́nh cuộn. Tuy nhiên, người dùng sẽ phải đợi thêm nhiều năm.

Bên cạnh đó, một chiếc iPhone màn h́nh gập sẽ khả khi hơn. Một số nguồn tin cho biết, Apple đang thử nghiệm các mẫu điện thoại gập và có thể cho ra mắt sớm nhất là năm 2022. Smartphone màn h́nh cuộn được đánh giá là tương lai trên thiết bị di động. Với cơ chế thu gọn và mở rộng diện tích màn h́nh qua hệ thống trục tṛn và ẩn giấu tấm nền trong thân máy, những thiết bị này không gặp phải t́nh trạng nếp gấp như điện thoại gập.

Một số hăng smartphone cũng đang nghiên cứu điện thoại cuộn. Đầu năm nay, Samsung xác nhận đang phát triển smartphone màn h́nh cuộn và trượt.

Tương tự, ông lớn LG cũng 'úp mở' thông tin sản xuất smartphone màn h́nh cuộn. Smartphone được LG hé lộ trong video 28 phút để giới thiệu sản phẩm trực tuyến trong khuôn khổ Triển lăm Điện tử tiêu dùng (CES) 2021. Hăng điện tử Hàn Quốc không trực tiếp đề cập đến Rollable. Thay vào đó, thiết bị chỉ được "nhá hàng" vài giây ở đầu và cuối buổi thuyết tŕnh.

Dựa trên h́nh ảnh trong video, Rollable có cách hoạt động tương tự nguyên mẫu Oppo X 2021 trước đó. Ở chế độ thông thường, thiết bị có kích thước như một smartphone truyền thống nhưng có thể mở rộng không gian hiển thị qua hệ thống truyền động bên trong.

LG từng áp dụng công nghệ cuộn cho màn h́nh OLED đầu tiên trên TV từ 2018. Tuy nhiên, hăng không thể thương mại hóa sản phẩm này cho đến tháng 10/2020. Hiện model Signature OLED R màn h́nh cuộn được LG bán với giá 87.000 USD. Một nguồn tin nói với Cnet tiết lộ, LG có kế hoạch bán Rollable cuối năm nay.

Tại thời điểm cuối năm 2020, Oppo đă giới thiệu nguyên mẫu smartphone với màn h́nh cuộn mang tên X 2021.

Oppo X 2021 sử dụng màn h́nh OLED cuộn cùng hệ thống truyền động Roll Motor để mở rộng màn h́nh, tăng diện tích hiển thị. Ở trạng thái thông thường, máy có kích thước 6,7 inch. Nhưng khi mở ra, diện tích tăng lên tối đa 7,4 inch, tương đương một máy tính bảng cỡ nhỏ.

Theo Oppo, Roll Motor là hệ thống gồm hai động cơ kết hợp với nhau tạo nên lực đồng nhất để kéo hoặc đẩy tấm nền màn h́nh mà không gây hư hỏng. Điểm đặc biệt trên hệ thống này là khả năng mở rộng màn h́nh tùy ư, trong khoảng 6,7 đến 7,4 inch, thay v́ chỉ chọn một trong hai kích thước cố định như smartphone gập.

Oppo cho biết đă sử dụng miếng dán màn h́nh có tên Warp Track độc quyền nhằm bảo vệ màn h́nh trước các tác động bên ngoài. Kết cấu phần kéo mở h́nh răng lược đan xen nhau đảm bảo toàn thân máy chắc chắn.

X 2021 được Oppo giới thiệu tại sự kiện Inno Day 2020 tại Thâm Quyến (Trung Quốc) của hăng. Công ty chưa tiết lộ cấu h́nh, giá bán và thời gian lên kệ của sản phẩm này.
VIETBF Diễn Đàn Hay Nhất Của Người Việt Nam

HOT NEWS 24h

HOT 3 Days

NEWS 3 Days

HOT 7 Days

NEWS 7 Days

HOME

Breaking News

VietOversea

World News

Business News

Car News

Computer News

Game News

USA News

Mobile News

Music News

Movies News

History

Thơ Ca

Sport News

Stranger Stories

Comedy Stories

Cooking Chat

Nice Pictures

Fashion

School

Travelling

Funny Videos

Canada Tin Hay

USA Tin Hay

VietBF Homepage Autoscroll

VietBF Video Autoscroll Portal

Home Classic

Home Classic Master Page



Hanna
R10 Vô Địch Thiên Hạ
Hanna's Avatar
Release: 10-09-2021
Reputation: 58282


Profile:
Join Date: Dec 2006
Posts: 88,250
Last Update: None Rating: None
Attached Thumbnails
Click image for larger version

Name:	1.jpg
Views:	0
Size:	23.5 KB
ID:	1889777  
Hanna_is_offline
Thanks: 11
Thanked 3,751 Times in 3,090 Posts
Mentioned: 5 Post(s)
Tagged: 0 Thread(s)
Quoted: 8 Post(s)
Rep Power: 109
Hanna Reputation Uy Tín Level 8
Hanna Reputation Uy Tín Level 8Hanna Reputation Uy Tín Level 8Hanna Reputation Uy Tín Level 8Hanna Reputation Uy Tín Level 8Hanna Reputation Uy Tín Level 8Hanna Reputation Uy Tín Level 8Hanna Reputation Uy Tín Level 8Hanna Reputation Uy Tín Level 8Hanna Reputation Uy Tín Level 8Hanna Reputation Uy Tín Level 8Hanna Reputation Uy Tín Level 8Hanna Reputation Uy Tín Level 8Hanna Reputation Uy Tín Level 8Hanna Reputation Uy Tín Level 8Hanna Reputation Uy Tín Level 8Hanna Reputation Uy Tín Level 8Hanna Reputation Uy Tín Level 8Hanna Reputation Uy Tín Level 8Hanna Reputation Uy Tín Level 8Hanna Reputation Uy Tín Level 8Hanna Reputation Uy Tín Level 8Hanna Reputation Uy Tín Level 8Hanna Reputation Uy Tín Level 8
Reply

User Tag List

Thread Tools

Khi doanh nghiệp Mỹ nổi loạn v́ thuế quan Trump muốn học mô h́nh hưu trí “super” của Úc: Bắt buộc tiết kiệm cho tuổi già Từ cô thợ nails tị nạn đến chủ nhân căn nhà đắt nhất Atlanta
Thuế mới, phố vắng, chợ buồn: Nếu tiểu thương gục ngă, ai bán hàng cho 100 triệu dân? K+ khép lại sau 16 năm: Đế chế bóng đá trả tiền tàn cuộc chơi Người Vợ Lực Lượng Đặc Biệt – Hồi ức về Thiếu Tá Hồ Đăng Nhựt trong mùa Quốc Nạn
Viên tướng nhỏ thó gánh oan khiên Mậu Thân John Riordan – người Mỹ quay lại Sài G̣n để cứu 105 người Việt Evergrande: Từ đế chế số 1 đến quả bom nợ – Bài học nào cho Việt Nam?
Campuchia: Từ Thiên Đường Angkor Đến “Công Xưởng Tội Phạm” Của Mafia Trung Quốc Cuộc Xâm Lược Cuối Cùng Của Trung Quốc Và Trang Sử Bị Xóa Khỏi Kư Ức Việt Nam V́ Sao Số Nhà Ở Mỹ “Nhảy Cóc”? Giải Mă Từ House Number Đến ZIP Code
David Thái, Highlands Coffee Và Những Hành Tŕnh “Đi Rồi Trở Về” Của Thuyền Nhân Việt V́ Sao Quân Đội Trung Quốc Không Đảo Chính? “Đảng Chỉ Huy Quân Đội” Và Nỗi Sợ Được Thể Chế Hóa Tâm Lư Vọng Ngoại Và Căn Bệnh “Bụt Nhà Không Thiêng”
Từ Giọt Nước Mắt Của Mẹ Đến Đế Chế Zara: Hành Tŕnh Của Amancio Ortega “Tâm Hồn Nga” Và Cơn Say Đế Quốc: Từ Crimea Đến Putin “Bên kia vĩ tuyến” và lời tự thú của một Bắc Kỳ 1985
Hiệu ứng Elon Musk: Khi một CEO “tham chính” làm Tesla mất hơn một triệu chiếc xe Điện thoại – phát minh bắt đầu từ một lời gọi yêu thương Thứ trưởng Cao Hùng và nỗi buồn ḥa hợp dân tộc: Không thể không nói
Mười phát minh vĩ đại của người Hồi giáo đă âm thầm làm nên thế giới hiện đại Bẻ găy “chiến dịch” báng bổ tiền nhân: Lịch sử Việt Nam giữa hai cách kể Từ “janitor da đen” đến người cứu sống vạn “em bé xanh”
Cơn mê “phục sinh Liên Xô”: Hoang tưởng đế quốc trong kỷ nguyên mạng xă hội Trung Quốc có c̣n xă hội chủ nghĩa không – hay chỉ là tư bản thân hữu khoác áo đỏ? Kỷ nguyên Tô Lâm: Thiên tai, tham nhũng và những vết nứt dẫn tới sụp đổ

 
Lên đầu Xuống dưới Lên 3000px Xuống 3000px

iPad Videos Portal Autoscroll

VietBF Music Portal Autoscroll

iPad News Portal Autoscroll

VietBF Homepage Autoscroll

VietBF Video Autoscroll Portal

USA News Autoscroll Portall

VietBF WORLD Autoscroll Portal

Home Classic

Super Widescreen

iPad World Portal Autoscroll

iPad USA Portal Autoscroll

Phim Bộ Online

Tin nóng nhất 24h qua

Tin nóng nhất 3 ngày qua

Tin nóng nhất 7 ngày qua

Tin nóng nhất 30 ngày qua

Albums

Total Videos Online
Lên đầu Xuống dưới Lên 3000px Xuống 3000px

Tranh luận sôi nổi nhất 7 ngày qua

Tranh luận sôi nổi nhất 14 ngày qua

Tranh luận sôi nổi nhất 30 ngày qua

10.000 Tin mới nhất

Tin tức Hoa Kỳ

Tin tức Công nghệ
Lên đầu Xuống dưới Lên 3000px Xuống 3000px

Super News

School Cooking Traveling Portal

Enter Portal

Series Shows and Movies Online

Home Classic Master Page

Donation Ủng hộ $3 cho VietBF
Lên đầu Xuống dưới Lên 3000px Xuống 3000px
Diễn Đàn Người Việt Hải Ngoại. Tự do ngôn luận, an toàn và uy tín. V́ một tương lai tươi đẹp cho các thế hệ Việt Nam hăy ghé thăm chúng tôi, hăy tâm sự với chúng tôi mỗi ngày, mỗi giờ và mỗi giây phút có thể. VietBF.Com Xin cám ơn các bạn, chúc tất cả các bạn vui vẻ và gặp nhiều may mắn.
Welcome to Vietnamese American Community, Vietnamese European, Canadian, Australian Forum, Vietnamese Overseas Forum. Freedom of speech, safety and prestige. For a beautiful future for Vietnamese generations, please visit us, talk to us every day, every hour and every moment possible. VietBF.Com Thank you all and good luck.

Lên đầu Xuống dưới Lên 3000px Xuống 3000px

All times are GMT. The time now is 20:37.
VietBF - Vietnamese Best Forum Copyright ©2005 - 2025
User Alert System provided by Advanced User Tagging (Pro) - vBulletin Mods & Addons Copyright © 2025 DragonByte Technologies Ltd.
Log Out Unregistered

Page generated in 0.10695 seconds with 15 queries